Front windshield Diagram Honda PRELUDE
- Year
- 1992
- Model code
- PRELUDE
- Sales region
- General
- Engine
- F22A
- transmission
- 4AT
- Number of doors
- 2
- grade
- CX
- area code
- KQ
- right-hand drive
- +
Difficulties in parts search?
Parts list
Difficulties in parts search?
| Description | OEM Part # | Price | |||
|---|---|---|---|---|---|
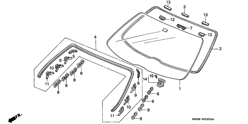
|
1
|
1
73111-SS0-Q01 GlassFR. WINDSHIELD (BLUE) (ASAHI) |
73111-SS0-Q01 |
US $981.76 |
||
|
2
|
2
73125-SS0-000
Rubber
|
73125-SS0-000 |
— | ||
| replacement | |||||
|
2
|
2
73125-SL4-000
Rubber
|
73125-SL4-000 |
— | ||
|
3
|
3
73127-SS0-000
Fastener b
|
73127-SS0-000 |
— | ||
|
4
|
4
73150-SS0-010
Molding assy. Fr. Windshield
0C003743 - |
73150-SS0-010 |
— | ||
|
4
|
4
73150-SS0-000
Molding assy.
00000000 - 0C003742 |
73150-SS0-000 |
— | ||
|
5
|
5
73155-SS0-004
Clip
|
73155-SS0-004 |
— | ||
|
6
|
6
73156-SS0-004
Clip
|
73156-SS0-004 |
— | ||
|
7
|
7
91513-SR4-000 Fastener bRR. WINDSHIELD |
91513-SR4-000 |
US $8.68 |
||
|
8
|
8
91525-SS0-003 Clip dFR. WINDSHIELD SIDE |
91525-SS0-003 |
US $2.53 |
||
|
9
|
9
91528-SS0-003
Clip A
|
91528-SS0-003 |
— | ||
|
10
|
10
91529-SS0-003
Clip b
|
91529-SS0-003 |
— | ||
|
11
|
11
91530-SS0-003
Clip c
|
91530-SS0-003 |
— | ||
|
12
|
12
91533-SS0-000 Fastener dWINDSHIELD GLASS |
91533-SS0-000 |
US $7.70 |
||
|
13
|
13
91536-SS0-000
Fastener a
|
91536-SS0-000 |
— | ||
|
14
|
14
91542-SS0-003
Holder
|
91542-SS0-003 |
— | ||
|
15
|
15
93903-243G0 ScrewTAPPING, 4X12 |
93903-243G0 |
from US $0.67 |
||