Honda PRELUDE Car & Auto Parts
- Year
- 1997
- Model code
- PRELUDE
- Sales region
- General
- Engine
- H22A
- transmission
- 5MT
- Number of doors
- 2
- grade
- 2.2VTI
- abs
- +
- area code
- KE
- right-hand drive
- +
- sunroof
- +
- auto cruise
- +
- 4ws
- +
- srs driver & passenger
- +
Difficulties in parts search?
-
Transmission housing
-
Mainshaft
-
Countershaft
-
Shift fork
-
Differential gear
-
Air cleaner
-
Resonator chamber
-
Purge control solenoid valve
1
-
Egr control device
-
Exhaust pipe
DOHC
-
Fuel tank
-
Fuel pipe
-
Canister
RH
-
Radiator
TOYO
-
Radiator
DENSO
-
Radiator hose
-
Battery
-
Wire harness
RH
-
Harness band/bracket
RH
-
Headlight
-
Front combination light
-
Taillight
-
Interior light
-
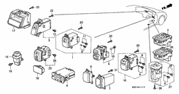
Combination switch
RH
-
Switch
RH
-
Combination meter components
-
Control unit
ENGINE ROOM
-
Control unit
CABIN; RH
-
Srs unit
RH
-
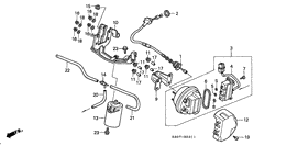
Front windshield wiper
RH
-
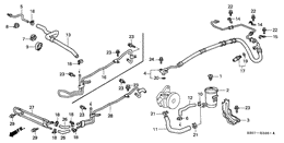
Windshield washer
-
Radio antenna/speaker
-
Auto radio
-
Heater control
RH
-
Heater blower
RH
-
Heater unit
RH
-
Water valve
-
Tire/wheel disk
-
Rear brake
DISK
-
Front driveshaft/ half shaft
1
-
Front brake
DOHC
-
Pedal
RH
-
Auto cruise
RH
-
Clutch master cylinder
RH
-
Brake master cylinder/ master power
-
Abs modulator
-
Brake lines
ABS; RH
-
Parking brake
-
Knuckle
-
Front stabilizer/ front lower arm
-
Front shock absorber
-
Rear stabilizer/ rear lower arm
-
Rear shock absorber
-
Steering wheel
SRS
-
Steering column
-
Power steering gear box
RH
-
Power steering gear box components
RH; 1
-
Rear steering actuator
-
Power steering lines
RH
-
Shift lever
-
Floor mat
-
Grommet
-
Instrument panel
RH
-
Instrument panel garnish
RH
-
Duct
RH
-
Console
-
Roof lining
-
Sliding roof
-
Roof slide components
-
Pillar garnish
RH
-
Front door lining
RH
-
Side lining
-
Rear tray/trunk garnish
-
Front seat
RH
-
Front seat components
L.; 2
-
Front seat components
R.; 2
-
Rear seat
-
Seatbelts
-
Emblems
-
Molding/protector
-
Mirror
-
Tools/jack
-
Bumpers
KE/KF/KG/KS
-
Engine mounts
MT
-
Cross beam
-
Front bulkhead
-
Inner panels
-
Outer panels
-
Front fenders
-
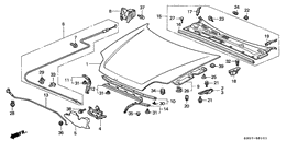
Hood
RH
-
Front windshield
-
Rear windshield
-
Door windows
-
Door locks
-
Door panels
-
Trunk lid
RH; 1
-
Air conditioner
HOSES/PIPES; RH
-
Air conditioner
CONDENSER
-
Air conditioner
COOLING UNIT; RH
-
Air conditioner
COMPRESSOR; KEIHIN
-
Throttle body
DOHC
-
Install pipe/tubing
DOHC
-
Intake manifold
DOHC
-
Exhaust manifold
DOHC
-
High tension cord/plug
-
Distributor
TEC
-
Alternator bracket
-
Alternator
DENSO
-
Engine wire harness
RH
-
Starter motor
MITSUBA
-
Breather tube
-
Cylinder head cover
-
Cylinder head
DOHC
-
Camshaft/timing belt
DOHC
-
Valve/rocker arm
DOHC
-
Oil pump/oil strainer
-
Cylinder block/oil pan
-
Water pump/sensor
-
Water hose
DOHC
-
Piston/crankshaft
-
Clutch/torque converter
-
Power steering pump
-
Gasket kit
-
Engine assy./ transmission assy.
-
Clutch housing
-
Clutch release
-
Shift arm
-
Radio/cassette 303r
-
428ta step-up r/c
-
Level 8 amber display
-
Cd changer alpine
-
Cd tuner low 20 pin
-
Radio attachment
-
Cd changer att (trun
-
Cd changer att (trun
-
Cd changer att (uppe
-
Cd changer att (uppe
-
Cd changer protectio
-
Front lower skirt
-
Rear lower skirt
-
Side under spoiler
-
Door step garnish
-
Bonnet hood spoiler
-
Bonnet hood spoiler
-
Bonnet hood spoiler
-
Bonnet hood spoiler
-
Bonnet hood spoiler
-
Bonnet hood spoiler
-
Trunk spoiler with h
-
Trunk spoiler with h
-
Trunk spoiler with h
-
Trunk spoiler with h
-
Trunk spoiler with h
-
Trunk spoiler with h
-
Gold emblem
-
Finisher exhausting
-
Leather cover hand b
-
Base carrier
-
Ski att for base car
-
Single bicycle base carrier attachment
-
Lock set for base ca
-
Lock set for base ca
-
Lock set for base ca
-
Lock set for base ca
-
Lock set for base ca
-
Trailer harness
-
Trailer hitch det
-
Front & rear mud gua
-
Floor carpet
-
Floor carpet
-
Body cover
-
Toddler seat
-
Infant seat
-
Booster seat
-
Sunroof visor
-
Door visor
-
Rear sunshade
-
Sports pedal
MT
-
Sports pedal
AT
-
Change knob leather
-
Change knob leather
-
Select knob leather
-
Select knob leather
-
Select knob wood typ
-
Front fog light
-
Alloy wheel 15 x 6,5
-
Alloy wheel 15 x 6,5
-
Alloy wheel 15 x 6,5
-
Alloy wheel 15 x 6,5
-
Alloy wheel 16 x 6,5
-
Alloy wheel 17 x 7 (
-
Wheel nut open type
-
Locking wheel nuts o
-
Wheel nuts open type
-
Lowered suspension
-
Panel set rh
WOOD
-
Panel set r
CARBON
-
Console cover wood
-
Console cover carbon