Floor mat Diagram Mitsubishi 3000GT
- Year
- 1994 - 2000
- Sales region
- EUR
- Note
- DOHC(TURBO/4WD/4WS),6FM/T LHD
- drive
- 4WD/4WS/4WD/4WS
- transmission
- 6FM/T
- grade
- LHD
Difficulties in parts search?
Parts list
Difficulties in parts search?
| Description | OEM Part # | Price | |||
|---|---|---|---|---|---|
|
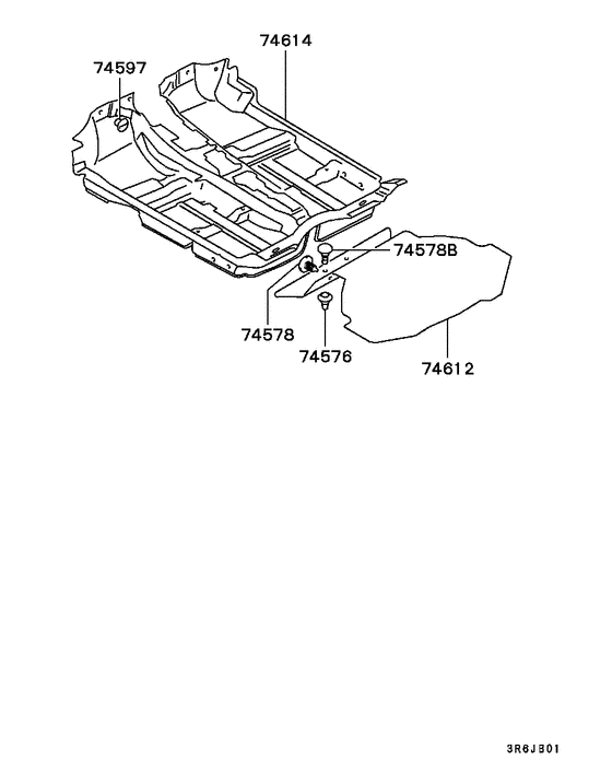
74576
|
74576
MB828996 GROMMET, PARTITION TRIM |
MB828996 |
US $2.19 |
||
|
74578
|
74578
MB766465 CLIP, RR SEAT |
MB766465 |
US $2.05 |
||
|
74578B
|
74578B
MR117105 CLIP, TRUNK ROOM TRIM |
MR117105 |
US $1.92 |
||
|
74597
|
74597
MU481130 CLIP, RR END TRIM |
MU481130 |
from US $1.03 |
||
|
74612
|
74612
MB938543 MAT, CARGO FLOORClo |
MB938543 |
US $333.42 |
||
|
74614
|
74614
MR740508
MAT,FLOOR
|
MR740508 |
— | ||
|
74614
|
74614
MR752378
MAT,FLOOR
|
MR752378 |
— |