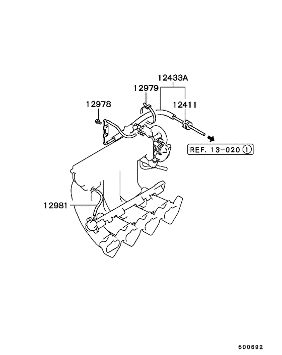
Emission control (SOHC) Diagram Mitsubishi CARISMA
- Year
- 1996 - 1997
- Sales region
- NEDCAR
- Note
- LS,4FA/T
- transmission
- 4FA/T
- grade
- LS
Difficulties in parts search?
Parts list
Difficulties in parts search?
| Description | OEM Part # | Price | |||
|---|---|---|---|---|---|
|
12411
|
12411
MD041839 CHECK VALVE, EMISSION CONTROL |
MD041839 |
US $20.72 |
||
|
12433A
|
12433A
MR312909 HOSE & PIPE ASSY, EMISSION CONTROL |
MR312909 |
US $54.76 |
||
|
12433A
|
12433A
MR373867 HOSE & PIPE ASSY, EMISSION CONTROL |
MR373867 |
US $58.46 |
||
|
12978
|
12978
M945358 BOLT, BATTERY WIRING6x12 |
M945358 |
US $1.92 |
||
|
12978
|
12978
MF140202 BOLT, FLANGE (6x10)Flange,6x10 |
MF140202 |
from US $1.66 |
||
|
12978
|
12978
MF241225 BOLT, ROCKER COVERWasher assembled,6x16 |
MF241225 |
from US $1.01 |
||
|
12979
|
12979
MB249339 BAND, ENG BREATHERL=169.5 |
MB249339 |
from US $1.95 |
||
|
12981
|
12981
MS632392 HOSE, EMISSION CONTROL EQUIP3x2000 |
MS632392 |
US $54.72 |
||
|
13 020
|
Fuel line & vapor gas control
13 020
|
||||
|
13 020
|
Fuel line & vapor gas control
13 020
|
||||