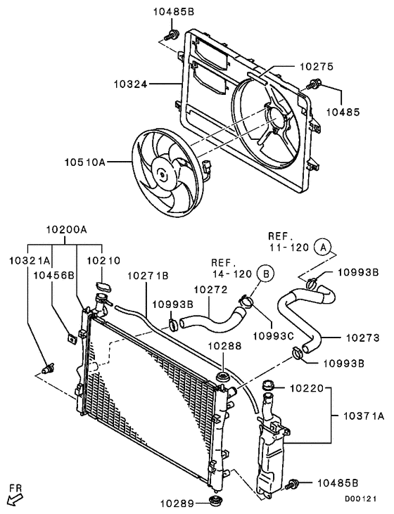
Radiator,hose & condenser tank (ALL) Diagram Mitsubishi COLT
- Year
- 2006 - 2008
- Sales region
- EUR/PF
- Note
- M(MPI),5FM/T RHD
- drive
- 2WD
- transmission
- 5FM/T
- grade
- M
Difficulties in parts search?
Parts list
Difficulties in parts search?
| Description | OEM Part # | Price | |||
|---|---|---|---|---|---|
|
10200A
|
10200A
MN130393
RADIATOR ASSY
|
MN130393 |
— | ||
|
10210
|
10210
MR481217 CAP, RADIATOR |
MR481217 |
from US $22.46 |
||
|
10220
|
10220
1375A026
CAP,RADIATOR CONDENSER TANK
|
1375A026 |
— | ||
|
10271B
|
10271B
MN130403
HOSE,RADIATOR CONDENSER TANK
|
MN130403 |
— | ||
|
10272
|
10272
MR597672
HOSE,RADIATOR,LWR
|
MR597672 |
— | ||
|
10273
|
10273
MR597668
HOSE,RADIATOR,UPR
|
MR597668 |
— | ||
|
10275
|
10275
1360A023
INSULATOR,RADIATOR SUPPORT
|
1360A023 |
— | ||
|
10288
|
10288
1351A004
INSULATOR,RADIATOR SUPPORT,UPR
|
1351A004 |
— | ||
|
10289
|
10289
MN178007
INSULATOR,RADIATOR SUPPORT,LWR
|
MN178007 |
— | ||
|
10321A
|
10321A
MR566611
PLUG ASSY,RADIATOR
|
MR566611 |
— | ||
|
10324
|
10324
1355A010
SHROUD,COOLING FAN
|
1355A010 |
— | ||
|
10324
|
10324
1355A011
SHROUD,COOLING FAN
|
1355A011 |
— | ||
|
10371A
|
10371A
MN130400
TANK ASSY,RADIATOR CONDENSER
|
MN130400 |
— | ||
|
10456B
|
10456B
1350A047
NUT,RADIATOR
|
1350A047 |
— | ||
|
10485
|
10485
1355A023
SCREW,RADIATOR
|
1355A023 |
— | ||
|
10485B
|
10485B
1375A027
SCREW,RADIATOR
|
1375A027 |
— | ||
|
10510A
|
10510A
1355A030
MOTOR ASSY,COOLING FAN
|
1355A030 |
— | ||
|
10510A
|
10510A
1355A080
MOTOR ASSY,COOLING FAN
|
1355A080 |
— | ||
|
10993B
|
10993B
MU010584
CLIP,RADIATOR
|
MU010584 |
— | ||
|
10993C
|
10993C
MU010685
CLIP,RADIATOR PIPING
|
MU010685 |
— | ||
|
11 120
|
Cylinder head
11 120
|
||||
|
14 120
|
Water pipe & thermostat
14 120
|
||||