Fuel tank (L.P.G) Diagram Mitsubishi DEBONAIR V
- Year
- 1988 - 1989
- Sales region
- Japan
- Note
- AQUASCUTUM(SUPER-CHARGER),4FA/T
- transmission
- 4FA/T
- grade
- AQUASCUTUM
Difficulties in parts search?
Parts list
Difficulties in parts search?
| Description | OEM Part # | Price | |||
|---|---|---|---|---|---|
|
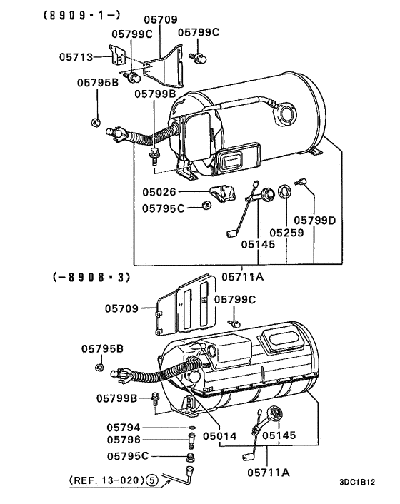
05014
|
05014
MB348310
HOSE, FUEL FILLER
|
MB348310 |
— | ||
| replacement | |||||
|
05014
|
05014
MB348672
HOSE, FUEL FILLER
|
MB348672 |
— | ||
|
05145
|
05145
MB399204 GAUGE UNIT, FUEL TANK |
MB399204 |
US $159.84 |
||
|
05259
|
05259
MB434790 GASKET, FUEL TANK GAUGE |
MB434790 |
US $3.97 |
||
|
05795B
|
05795B
MS440502 NUT, FUEL TANKWasher assembled,6 |
MS440502 |
from US $1.74 |
||
|
05795C
|
05795C
MB129416 NUT, LPG TANKUnion,22.5 |
MB129416 |
US $17.02 |
||
|
05795C
|
05795C
MS440503 NUT, ENG FR MOUNTINGWasher assembled,8 |
MS440503 |
from US $0.84 |
||
|
05799B
|
05799B
MF244878 BOLT, CYLINDER HEADWasher assembled,10x20 |
MF244878 |
from US $1.50 |
||
|
05799C
|
05799C
MF243622 BOLT, ROCKER COVERWasher assembled,6x12 |
MF243622 |
from US $1.33 |
||
|
05799D
|
05799D
MF240029 BOLT, ENG OIL LINEWasher assembled,6x25 |
MF240029 |
from US $1.07 |
||