Electrical control (ALL (CONEROL UNIT ETC.)) Diagram Mitsubishi DIAMANTE
- Year
- 1991 - 1993
- Sales region
- P.RICO&GUAM/MMAL
- Note
- LS(DOHC/4WS),4FA/T FED
- drive
- 2WD/4WS
- transmission
- 4FA/T
- grade
- LS
Difficulties in parts search?
Difficulties in parts search?
| Description | OEM Part # | Price | |||
|---|---|---|---|---|---|
|
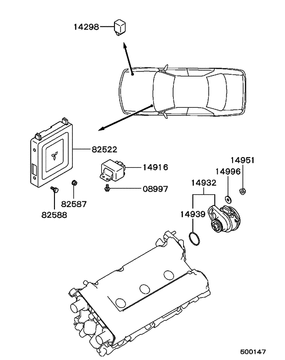
08997
|
08997
MS240027 BOLT, ENG CONTROL EQUIPWasher assembled,5x16 |
MS240027 |
US $1.92 |
||
|
08997
|
08997
MS240125 BOLT, FUEL TANKWasher assembled,8x20 |
MS240125 |
from US $1.05 |
||
|
14298
|
14298
MD113566 RELAY, ALTERNATOR SAFETY |
MD113566 |
from US $26.54 |
||
|
14916
|
14916
MB925545 RELAY, ENG CONTROL |
MB925545 |
US $84.36 |
||
|
14916
|
14916
MD159893 RELAY, ENG CONTROLE8t07871 |
MD159893 |
US $109.44 |
||
|
14932
|
14932
MD153464 SENSOR, ENG CRANK ANGLE |
MD153464 |
US $827.01 |
||
|
14932
|
14932
MD187066 SENSOR, ENG CRANK ANGLE |
MD187066 |
US $140.90 |
||
|
14939
|
14939
MD618314
O-RING, CRANK ANGLE SENSOR
|
MD618314 |
— | ||
|
14951
|
14951
MF434124 NUT, CRANK ANGLE SENSORFlange,8 |
MF434124 |
US $1.64 |
||
|
14996
|
14996
MD102178 WASHER, DISTRIBUTORPlain,8.5 |
MD102178 |
US $2.81 |
||
|
14996
|
14996
MF450404 WASHER, ENG OIL PANSpring,6 |
MF450404 |
from US $0.62 |
||
|
82522
|
82522
MD175552
CONTROL UNIT,ENG
|
MD175552 |
— | ||
|
82522
|
82522
MD192194
CONTROL UNIT,ENG
|
MD192194 |
— | ||
|
82587
|
82587
MS440503 NUT, ENG FR MOUNTINGWasher assembled,8 |
MS440503 |
from US $0.84 |
||
|
82588
|
82588
MS240125 BOLT, FUEL TANKWasher assembled,8x20 |
MS240125 |
from US $1.05 |