A/t oil cooler & tube Diagram Mitsubishi ECLIPSE
- Year
- 1990 - 1994
- Sales region
- EUR/MMNA
- Note
- HIGH LINE,4FA/T CAL
- drive
- 2WD
- transmission
- 4FA/T
- grade
- HIGH LINE
Difficulties in parts search?
Parts list
Difficulties in parts search?
| Description | OEM Part # | Price | |||
|---|---|---|---|---|---|
|
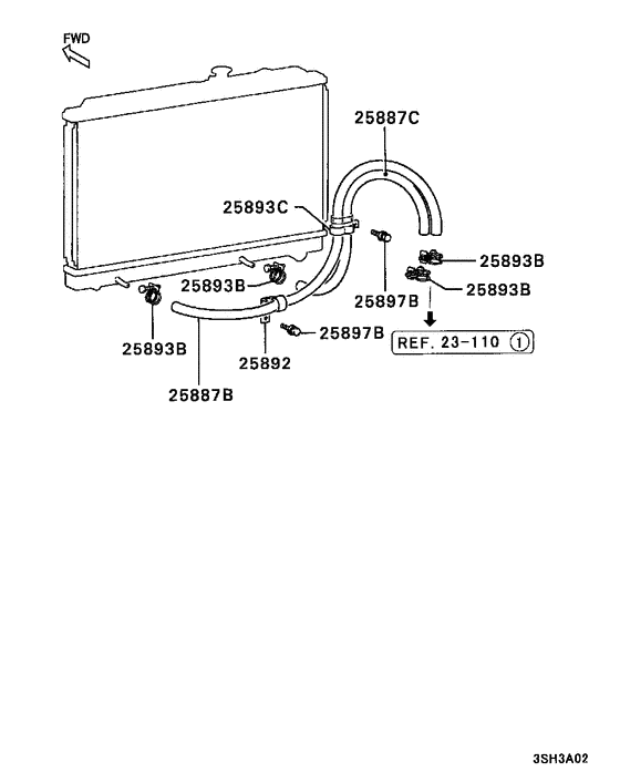
25887B
|
25887B
MB010582 HOSE, T/M OIL COOLER LINERubber,8x925 |
MB010582 |
US $54.02 |
||
|
25887C
|
25887C
MB010471 HOSE, T/M OIL COOLER LINERubber,8x660 |
MB010471 |
US $52.54 |
||
|
25892
|
25892
MB010763 CLIP, T/M OIL COOLER LINE |
MB010763 |
US $6.22 |
||
|
25893B
|
25893B
MF661007 CLIP, FUEL LINED=14 |
MF661007 |
US $2.05 |
||
|
25893C
|
25893C
MB538709 CLAMP, T/M OIL COOLER LINE15-15 |
MB538709 |
US $5.62 |
||
|
25897B
|
25897B
MF243622 BOLT, ROCKER COVERWasher assembled,6x12 |
MF243622 |
from US $1.33 |
||
|
23 110
|
A/t case
23 110
|
||||
|
23 110
|
A/t case
23 110
|
||||
|
23 110
|
A/t case
23 110
|
||||
|
23 110
|
A/t case
23 110
|
||||