A/t case (ALL (CONNECTING PARTS)) Diagram Mitsubishi ECLIPSE
- Year
- 1991 - 1992
- Sales region
- PUERTO RICO/MMNA
- Note
- SPECIAL LINE(TURBO/4WD),4FA/T FED
- drive
- 4WD/4WD
- transmission
- 4FA/T
- grade
- SPECIAL LINE
Difficulties in parts search?
Parts list
Difficulties in parts search?
| Description | OEM Part # | Price | |||
|---|---|---|---|---|---|
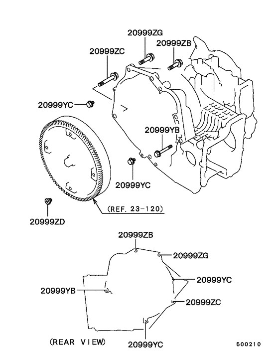
|
20999YB
|
20999YB
MD706012 BOLT, T/M CONNECTINGWasher assembled,8x60 |
MD706012 |
from US $2.87 |
||
|
20999YC
|
20999YC
MF140021 BOLT, ACCEL CABLE SUPPORTFlange,8x12 |
MF140021 |
from US $0.43 |
||
|
20999ZB
|
20999ZB
MF140266 BOLT, TIMING BELT TRAINFlange,10x40 |
MF140266 |
from US $1.48 |
||
|
20999ZC
|
20999ZC
MF140471 BOLT, EXHAUST PIPEFlange,10x65 |
MF140471 |
US $3.26 |
||
|
20999ZD
|
20999ZD
MD952169 BOLT, T/M CONNECTINGSpecial,10x11 |
MD952169 |
US $7.25 |
||
|
20999ZG
|
20999ZG
MD740892 BOLT, T/M CONNECTINGFlange,10x43.5 |
MD740892 |
US $4.74 |
||
|
23 120
|
A/t tor-con & oil pump
23 120
|
||||