Rear axle drive shaft Diagram Mitsubishi EXPO

Year
1991 - 1994
Sales region
PUERTO RICO&GUAM
Note
PREMIUM LINE(4WD),4FA/T FED
drive
4WD/4WD
transmission
4FA/T
grade
PREMIUM LINE

Difficulties in parts search?

Parts list
Rear axle drive shaft

Difficulties in parts search?

Rear axle drive shaft
Description OEM Part # Price
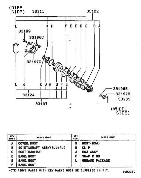
33107
33107
MB526962
BOOT KIT, RR AXLE JOINT

MB526962

33111
33111

MB526961

BOOT KIT, RR AXLE SHAFT

Bj

MB526961

US $116.18

33122
33122

MB896298

JOINT & SHAFT KIT, RR AXLE

Bj

MB896298

US $765.86

33124
33124

MB620364

JOINT KIT, RR AXLE SHAFT

Doj

MB620364

US $626.08

33161
33161

MF472087

PIN, ENG OIL PUMP INR

Split,4x40

MF472087

from US $0.86

33196B
33196B

MB109025

WASHER, FR AXLE

Lock,22.4

MB109025

from US $3.35

33196C
33196C

MS450043

WASHER, ENG RR MOUNTING

Spring,10

MS450043

from US $1.76

33197B
33197B

MB109029

NUT, FR AXLE

Castle,22

MB109029

from US $5.36

33197C
33197C

MF430122

NUT, ENG RR MOUNTING

10

MF430122

from US $0.72

33199
33199

MB160664

BOLT, FR AXLE SHAFT

10x29

MB160664

US $3.97

Rear axle drive shaft Diagram Mitsubishi EXPO PUERTO RICO&GUAM 1864724-163637