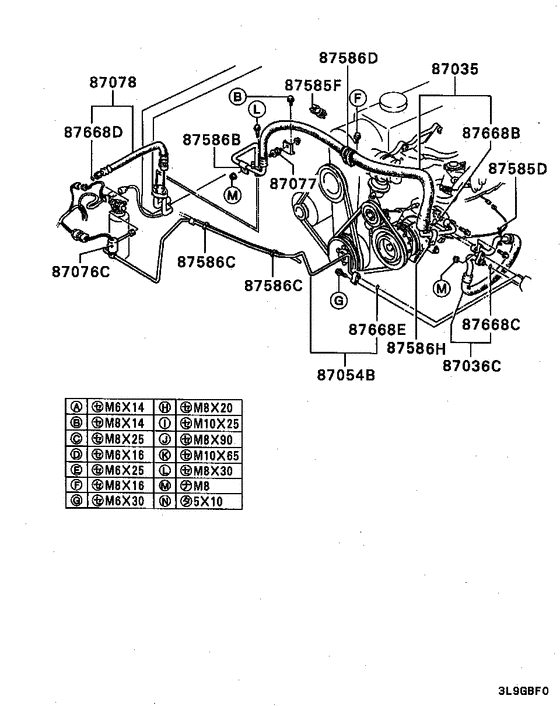
A/c cond, piping(auto,full:a) (A/C PIPING ETC...ALL) Diagram Mitsubishi GALANT

Year
1986
Sales region
Japan
Note
CS(MPI),4FA/T
transmission
4FA/T
grade
CS

Difficulties in parts search?

Parts list
A/c cond, piping(auto,full:a)

Difficulties in parts search?

A/c cond, piping(auto,full:a)
Description OEM Part # Price
87035
87035
MB380513
HOSE, A/C COMPRESSOR DISCHARGE

MB380513

87036C
87036C
MB298578
HOSE, A/C COMPRESSOR SUCTION

MB298578

87077
87077

MB272964

INSULATOR, A/C CONDENSER

MB272964

US $31.82

87585D
87585D

MS470367

CLIP, ACCEL CONTROL EQUIP

8-23

MS470367

US $2.96

87586B
87586B
MB298701
CLAMP, A/C PIPING

MB298701

87586C
87586C

MB199866

CLAMP, A/C PIPING

2-6.8

MB199866

US $1.48

87586D
87586D
MB332430
CLIP, A/C PIPING

MB332430

87668B
87668B

MB276214

O-RING, A/C PIPING

1/2;

MB276214

US $6.51

87668C
87668C

MB276215

O-RING, A/C PIPING

5/8;

MB276215

US $0.92

87668D
87668D

MB276213

O-RING, A/C PIPING

8

MB276213

from US $1.23

87668E
87668E

MB276213

O-RING, A/C PIPING

8

MB276213

from US $1.23

A/c cond, piping(auto,full:a) (A/C PIPING ETC...ALL) Diagram Mitsubishi GALANT Japan 7930797-628100