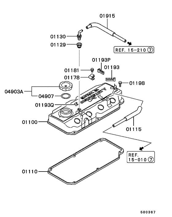
Rocker cover (ALL) Diagram Mitsubishi GALANT SIGMA
- Year
- 1995 - 1999
- Sales region
- Japan
- Note
- TAXI-L(LPG),4FM/T
- transmission
- 4FM/T
- grade
- TAXI-L
Difficulties in parts search?
Difficulties in parts search?
| Description | OEM Part # | Price | |||
|---|---|---|---|---|---|
|
01100
|
01100
MD335097 COVER, ROCKER |
MD335097 |
US $227.92 |
||
|
01110
|
01110
MD184343 GASKET, ROCKER COVER |
MD184343 |
US $23.68 |
||
|
01115
|
01115
MD335098 HOSE, ROCKER COVER BREATHER |
MD335098 |
US $8.88 |
||
|
01129
|
01129
MD179909
GASKET, PCV VALVE
|
MD179909 |
— | ||
| replacement | |||||
|
01129
|
01129
1057A033 GASKET, PCV VALVE |
1057A033 |
from US $2.59 |
||
|
01130
|
01130
MD308786 VALVE, PCV |
MD308786 |
from US $41.52 |
||
|
01178
|
01178
MD321375 CLAMP, ACCEL CABLE SUPPORT |
MD321375 |
US $8.29 |
||
|
01181
|
01181
MF140220 BOLT, T/M CONNECTINGFlange,8x10 |
MF140220 |
US $1.92 |
||
|
01193
|
01193
MD129546 CLAMP, ROCKER COVER |
MD129546 |
US $4.10 |
||
|
01193P
|
01193P
MD017652 CLAMP, ROCKER COVER |
MD017652 |
US $2.05 |
||
|
01193Q
|
01193Q
MD088672 CLAMP, ROCKER COVER |
MD088672 |
US $3.26 |
||
|
01198
|
01198
MF241227 BOLT, ROCKER COVERWasher assembled,6x20 |
MF241227 |
US $2.19 |
||
|
01915
|
01915
MD333140 HOSE, ROCKER COVER PCV |
MD333140 |
US $11.69 |
||
|
04903A
|
04903A
MD132260
CAP ASSY, ENG OIL FILLER
|
MD132260 |
— | ||
| replacement | |||||
|
04903A
|
04903A
1250A015 CAP ASSY, ENG OIL FILLER |
1250A015 |
from US $12.13 |
||
|
04907
|
04907
MD103148
GASKET, ENG OIL FILLER CAP
|
MD103148 |
— | ||
| replacement | |||||
|
04907
|
04907
MD311638 GASKET, ENG OIL FILLER CAP |
MD311638 |
from US $1.50 |
||
|
15 010
|
Air cleaner
15 010
|
||||
|
15 210
|
Inlet manifold
15 210
|
||||