Glow plug & relay Diagram Mitsubishi L200/TRITON/SPORTERO/STRADA
- Year
- 1996 - 1999
- Sales region
- MMTH
- Note
- DOUBLE CAB(WIDE FENDER),4FA/T
- drive
- 4WD
- transmission
- 4FA/T
- grade
- DOUBLE CAB
Difficulties in parts search?
Difficulties in parts search?
| Description | OEM Part # | Price | |||
|---|---|---|---|---|---|
|
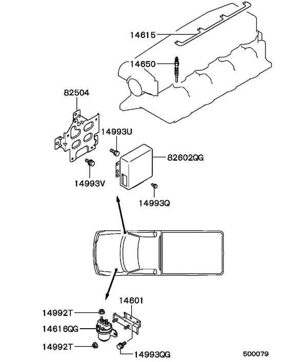
14601
|
14601
MD323636 BRACKET, GLOW PLUG RELAY |
MD323636 |
US $19.98 |
||
|
14615
|
14615
MD343482 PLATE, GLOW PLUG CONNECTING |
MD343482 |
US $4.65 |
||
|
14616QG
|
14616QG
MD337888 RELAY, GLOW PLUG CONTROL |
MD337888 |
from US $103.72 |
||
|
14650
|
14650
MD197511
GLOW PLUG
|
MD197511 |
— | ||
| replacement | |||||
|
14650
|
14650
1820A023 GLOW PLUG |
1820A023 |
from US $75.24 |
||
|
14650
|
14650
MD344469 GLOW PLUG |
MD344469 |
US $96.94 |
||
|
14992T
|
14992T
MS440502 NUT, FUEL TANKWasher assembled,6 |
MS440502 |
from US $1.74 |
||
|
14993Q
|
14993Q
MF241223 BOLT, ROCKER COVERWasher assembled,6x12 |
MF241223 |
from US $1.05 |
||
|
14993QG
|
14993QG
MB133273 BOLT, FUEL LINEWasher assembled,6x16 |
MB133273 |
US $3.01 |
||
|
14993U
|
14993U
MS240121 BOLT, CONNRODWasher assembled,6x16 |
MS240121 |
from US $1.70 |
||
|
14993V
|
14993V
MB249413
BOLT, FUEL LINE
|
MB249413 |
— | ||
| replacement | |||||
|
14993V
|
14993V
MB330946 BOLT, FUEL LINEWasher assembled,6x20 |
MB330946 |
US $1.92 |
||
|
82504
|
82504
MD305470 BRACKET, GLOW CONTROL UNIT |
MD305470 |
US $19.24 |
||
|
82602QG
|
82602QG
MD303880
CONTROL UNIT, GLOW PLUG
|
MD303880 |
— | ||
| replacement | |||||
|
82602QG
|
82602QG
1860A849 CONTROL UNIT, GLOW PLUG |
1860A849 |
US $443.46 |
||