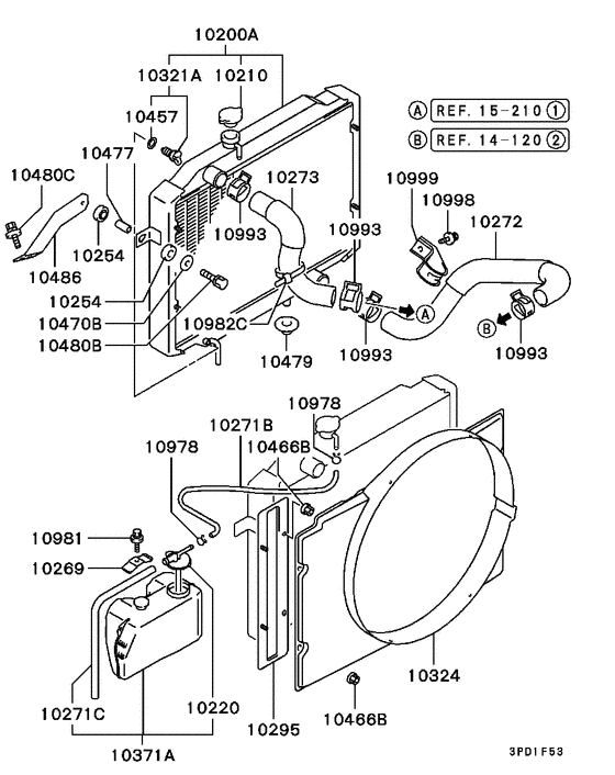
Radiator,hose & condenser tank (LHD) Diagram Mitsubishi L300
- Year
- 1994 - 1999
- Sales region
- EUR
- Note
- CAB&CHASSIS(LONG/MPI),5CM/T LHD
- drive
- 2WD
- transmission
- 5CM/T
- grade
- CAB&CHASSIS
Difficulties in parts search?
Difficulties in parts search?
| Description | OEM Part # | Price | |||
|---|---|---|---|---|---|
|
10200A
|
10200A
MR127772
RADIATOR ASSY
|
MR127772 |
— | ||
|
10210
|
10210
MB957124
CAP, RADIATOR
|
MB957124 |
— | ||
| replacement | |||||
|
10210
|
10210
MR481218 CAP, RADIATOR |
MR481218 |
US $22.09 |
||
|
10210
|
10210
MR481218 CAP, RADIATOR |
MR481218 |
US $22.09 |
||
|
10220
|
10220
MB283428
CAP, RADIATOR CONDENSER TANK
|
MB283428 |
— | ||
| replacement | |||||
|
10220
|
10220
MN161265 CAP, RADIATOR CONDENSER TANK |
MN161265 |
US $11.90 |
||
|
10254
|
10254
MB007930 CUSHION, RADIATOR SUPPORT |
MB007930 |
US $3.42 |
||
|
10269
|
10269
MB356816 HOLDER, RADIATOR CONDENSER TANK |
MB356816 |
US $8.73 |
||
|
10271B
|
10271B
MS600623 HOSE, RADIATOR CONDENSER TANK7x2000 |
MS600623 |
from US $12.03 |
||
|
10271C
|
10271C
MS610718 TUBE, FUEL TANKSoft vinyl,12x2000 |
MS610718 |
US $84.82 |
||
|
10272
|
10272
MB957794 HOSE, RADIATOR, LWR |
MB957794 |
US $30.34 |
||
|
10273
|
10273
MB957789 HOSE, RADIATOR, UPR |
MB957789 |
from US $11.25 |
||
|
10295
|
10295
MR127778
PLATE,RADIATOR BAFFLE SIDE
|
MR127778 |
— | ||
|
10321A
|
10321A
MB221817 PLUG ASSY, RADIATOR |
MB221817 |
US $6.96 |
||
|
10324
|
10324
MR127901 SHROUD, COOLING FAN |
MR127901 |
from US $70.30 |
||
|
10371A
|
10371A
MB356334 TANK ASSY, RADIATOR CONDENSER |
MB356334 |
US $47.20 |
||
|
10457
|
10457
MB221819 O-RING, RADIATOR6.8 |
MB221819 |
US $3.69 |
||
|
10466B
|
10466B
MF434103 NUT, ENG OIL PANFlange,6 |
MF434103 |
from US $0.10 |
||
|
10470B
|
10470B
MB222447 WASHER, ENG OIL COOLERPlain,8.1 |
MB222447 |
US $3.26 |
||
|
10477
|
10477
MT165806
COLLAR, ENG OIL COOLER
|
MT165806 |
— | ||
|
10479
|
10479
MB221921 BUSHING, RADIATOR20x17.5 |
MB221921 |
US $4.24 |
||
|
10480B
|
10480B
MF240059 BOLT, CYLINDER HEADWasher assembled,8x35 |
MF240059 |
from US $1.29 |
||
|
10480C
|
10480C
MF243651 BOLT, ENG RR MOUNTINGWasher assembled,8x20 |
MF243651 |
from US $0.92 |
||
|
10486
|
10486
MB957815 STAY, RADIATOR SUPPORT |
MB957815 |
US $6.81 |
||
|
10486
|
10486
MR127773
STAY,RADIATOR SUPPORT
|
MR127773 |
— | ||
|
10978
|
10978
MS660205 CLIP, RADIATOR PIPINGD=11.5 |
MS660205 |
from US $1.33 |
||
|
10981
|
10981
MF247222 BOLT, FUEL TANK PROTECTORWasher assembled,6x12 |
MF247222 |
US $1.78 |
||
|
10982C
|
10982C
MB249340 BAND, FUEL TANK PROTECTORL=219.5 |
MB249340 |
US $2.74 |
||
|
10993
|
10993
MB356968
CLIP, RADIATOR PIPING
|
MB356968 |
— | ||
| replacement | |||||
|
10993
|
10993
MR404538 CLIP, RADIATOR PIPINGD=37 |
MR404538 |
from US $2.83 |
||
|
10993
|
10993
MR404538 CLIP, RADIATOR PIPINGD=37 |
MR404538 |
from US $2.83 |
||
|
10998
|
10998
MF243625 BOLT, RADIATOR PIPINGWasher assembled,6x18 |
MF243625 |
US $1.92 |
||
|
10999
|
10999
MR127844 CLAMP, RADIATOR PIPING45 |
MR127844 |
US $7.25 |
||
|
14 120
|
Water pipe & thermostat
14 120
|
||||
|
15 210
|
Inlet manifold
15 210
|
||||