A/t electronic control (ALL) Diagram Mitsubishi LEGNUM
- Year
- 1996 - 1997
- Sales region
- Japan
- Note
- 20ST,S4FA/T
- drive
- 4WD
- transmission
- S4FA/T
- grade
- 20ST
Difficulties in parts search?
Parts list
Difficulties in parts search?
| Description | OEM Part # | Price | |||
|---|---|---|---|---|---|
|
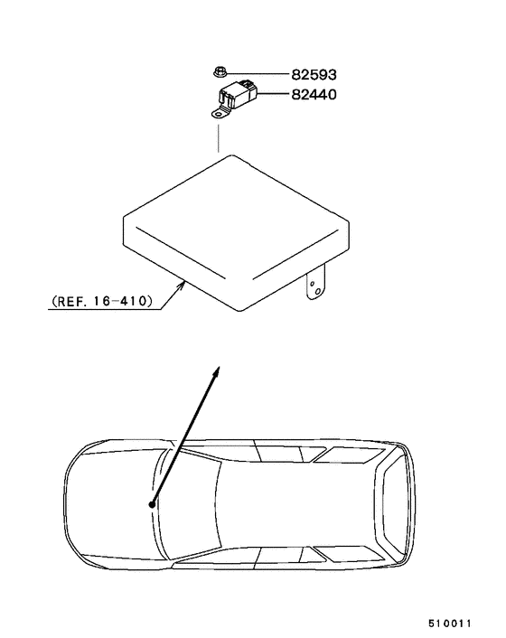
82440
|
82440
MD759545 RELAY, A/T FAIL SAFE CONTROL |
MD759545 |
from US $27.73 |
||
|
82593
|
82593
MF434103 NUT, ENG OIL PANFlange,6 |
MF434103 |
from US $0.10 |
||
|
16 410
|
Electrical control
16 410
|
||||
|
16 410
|
Electrical control
16 410
|
||||