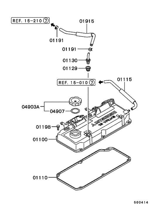
Rocker cover (ALL) Diagram Mitsubishi MIRAGE
- Year
- 1996 - 2000
- Sales region
- Japan
- Note
- DRIVER'S SCHOOL,5FM/T
- transmission
- 5FM/T
- grade
- DRIVER'S SCHOOL
Difficulties in parts search?
Parts list
Difficulties in parts search?
| Description | OEM Part # | Price | |||
|---|---|---|---|---|---|
|
01100
|
01100
MD329183 COVER, ROCKER |
MD329183 |
US $219.04 |
||
|
01100
|
01100
MD346963 COVER, ROCKER |
MD346963 |
US $168.72 |
||
|
01110
|
01110
MD334458 GASKET, ROCKER COVER |
MD334458 |
from US $20.53 |
||
|
01115
|
01115
MD319692
HOSE, ROCKER COVER BREATHER
|
MD319692 |
— | ||
|
01115
|
01115
MD362768 HOSE, ROCKER COVER BREATHER |
MD362768 |
US $17.76 |
||
|
01129
|
01129
MD179909
GASKET, PCV VALVE
|
MD179909 |
— | ||
| replacement | |||||
|
01129
|
01129
1057A033 GASKET, PCV VALVE |
1057A033 |
from US $2.59 |
||
|
01130
|
01130
MD183547 VALVE, PCV |
MD183547 |
from US $25.27 |
||
|
01191
|
01191
MS660240 CLIP, ROCKER COVERD=13.1 |
MS660240 |
from US $0.86 |
||
|
01198
|
01198
MF241227 BOLT, ROCKER COVERWasher assembled,6x20 |
MF241227 |
US $2.19 |
||
|
01915
|
01915
MD329187 HOSE, ROCKER COVER PCV |
MD329187 |
US $9.77 |
||
|
04903A
|
04903A
MD132260
CAP ASSY, ENG OIL FILLER
|
MD132260 |
— | ||
| replacement | |||||
|
04903A
|
04903A
1250A015 CAP ASSY, ENG OIL FILLER |
1250A015 |
from US $12.13 |
||
|
04907
|
04907
MD103148
GASKET, ENG OIL FILLER CAP
|
MD103148 |
— | ||
| replacement | |||||
|
04907
|
04907
MD311638 GASKET, ENG OIL FILLER CAP |
MD311638 |
from US $1.50 |
||
|
15 010
|
Air cleaner
15 010
|
||||
|
15 010
|
Air cleaner
15 010
|
||||
|
15 210
|
Inlet manifold
15 210
|
||||