at - gasket set (C:3AT; 1991-09-01~1997-03-01) Diagram Suzuki CARRY/EVERY

Year
1991 - 1992
Sales region
Japan
supercharge
CARB
drive
2WD
transmission
AT
grade
NSB
number of the gears
3AT
type
TYPE1
body
K
valve
4V
air-conditioner
AIRCON-N
アングル
NANGL
農繁
NNOUHAN
郵政
NYUSEI

Difficulties in parts search?

Parts list
at - gasket set

Difficulties in parts search?

at - gasket set
Description OEM Part # Price
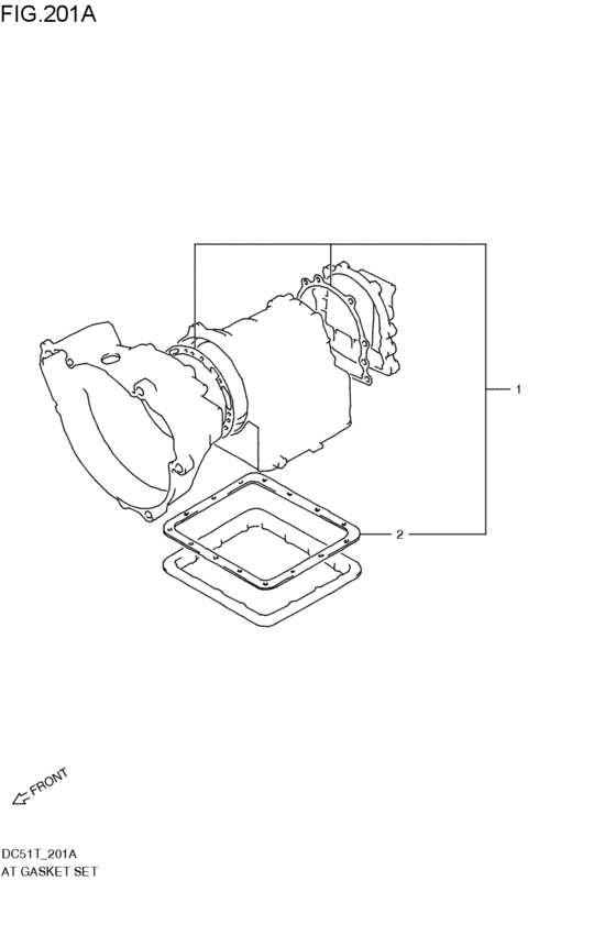
1
1

24780-83CT0-000

GASKET SET,AT

C:3AT; 1991-09-01~1997-03-01

24780-83CT0-000

US $36.80

2
2

24784-85500-000

GASKET,T/M OIL PAN

C:3AT; 1991-09-01~1997-03-01

24784-85500-000

US $19.76

at - gasket set (C:3AT; 1991-09-01~1997-03-01) Diagram Suzuki CARRY/EVERY Japan 476432-65111