at - input shaft (4AT; 1994-12-01~1996-03-01) Diagram Suzuki CULTUS
- Year
- 1994 - 1996
- Sales region
- Japan
- Engine
- G15A
- drive
- 2WD
- transmission
- AT
- Number of doors
- 3DR
- grade
- X
- number of the gears
- 4AT
Difficulties in parts search?
Parts list
Difficulties in parts search?
| Description | OEM Part # | Price | |||
|---|---|---|---|---|---|
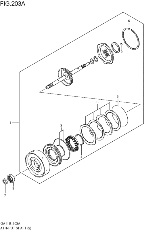
|
1
|
1
24111-60GT0-000
Shaft set,input
4AT; 1994-12-01~1996-03-01 |
24111-60GT0-000 |
— | ||
|
2
|
2
26813-60GT0-000
O-RING SET,REVERSE CLUTCH
4AT; 1994-12-01~1996-03-01 |
26813-60GT0-000 |
— | ||
|
3
|
3
26819-60GT0-000
Plate set,reverse clutch
4AT; 1994-12-01~1996-03-01 |
26819-60GT0-000 |
— | ||
|
4
|
4
26817-60G10-000 RING,REVERSE CLUTCH SNAP4AT; 1994-12-01~1996-03-01 |
26817-60G10-000 |
US $4.75 |
||
|
5
|
5
26823-60G10-000 RING,RETAINING O/D CL4AT; 1994-12-01~1996-03-01 |
26823-60G10-000 |
US $5.74 |
||
|
6
|
6
24192-57B00-000 RING,RETAINING BRAKE HUB4AT; 1994-12-01~1996-03-01 |
24192-57B00-000 |
US $17.70 |
||
|
7
|
7
24171-60G10-000
BEARING,INPUT SHAFT FR
4AT; 1994-12-01~1996-03-01 |
24171-60G10-000 |
— | ||
|
8
|
8
24733-60G10-000
ベアリング,インプットシャフト
4AT; 1994-12-01~1996-03-01 |
24733-60G10-000 |
— |