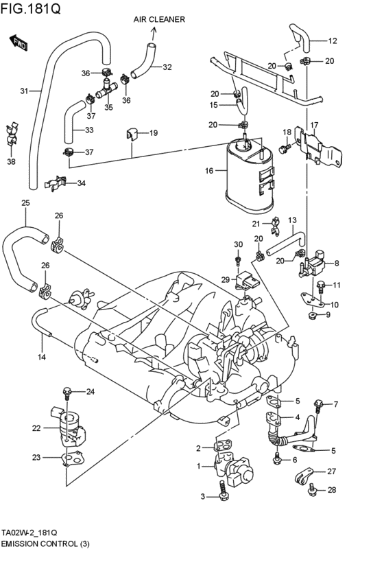
emission control (H25A; 2000-04-01~2002-09-01) Diagram Suzuki ESCUDO
- Year
- 2000 - 2011
- Sales region
- Japan
- Engine
- H25A
- drive
- 4WD
- transmission
- AT
- Number of doors
- 5DR
- grade
- G2
Difficulties in parts search?
Difficulties in parts search?
| Description | OEM Part # | Price | |||
|---|---|---|---|---|---|
|
1
|
1
18111-77E00-000
Valve, egr
H25A; 2000-04-01~2002-09-01 |
18111-77E00-000 |
— | ||
| replacement | |||||
|
1
|
1
18111-77E02-000 VALVE,EGRH25A; 2000-04-01~2002-09-01 |
18111-77E02-000 |
from US $282.71 |
||
|
2
|
2
18529-77E01-000 GASKET,EGR VALVEH25A; 2000-04-01~2002-09-01 |
18529-77E01-000 |
from US $2.39 |
||
|
3
|
3
01550-08503-000
Bolt
H25A; 2000-04-01~2002-09-01 |
01550-08503-000 |
— | ||
| replacement | |||||
|
3
|
3
01550-0850B-000 BoltH25A; 2000-04-01~2002-09-01 |
01550-0850B-000 |
from US $1.22 |
||
|
4
|
4
18530-67D10-000 PIPE,EGRH25A; 2000-04-01~2002-09-01 |
18530-67D10-000 |
from US $120.33 |
||
|
5
|
5
18533-77E00-000 GASKET,EGR PIPEH25A; 2000-04-01~2002-09-01 |
18533-77E00-000 |
US $2.28 |
||
|
6
|
6
01550-06163-000
Bolt
H25A; 2000-10-01~2002-09-01 |
01550-06163-000 |
— | ||
| replacements | |||||
|
6
|
6
01550-0616B-000 BOLTH25A; 2000-10-01~2002-09-01 |
01550-0616B-000 |
from US $0.76 |
||
|
6
|
6
01550-0616A-000 BOLTH25A; 2000-10-01~2002-09-01 |
01550-0616A-000 |
from US $0.76 |
||
|
6
|
6
01550-06203-000
Bolt
H25A; 2000-04-01~2000-10-01 |
01550-06203-000 |
— | ||
| replacement | |||||
|
6
|
6
01550-0620B-000 BOLTBolt, inspection cap H25A; 2000-04-01~2000-10-01 |
01550-0620B-000 |
from US $0.76 |
||
|
7
|
7
01550-06163-000
Bolt
H25A; 2000-04-01~2002-09-01 |
01550-06163-000 |
— | ||
| replacements | |||||
|
7
|
7
01550-0616B-000 BOLTH25A; 2000-04-01~2002-09-01 |
01550-0616B-000 |
from US $0.76 |
||
|
7
|
7
01550-0616A-000 BOLTH25A; 2000-04-01~2002-09-01 |
01550-0616A-000 |
from US $0.76 |
||
|
8
|
8
18117-65D00-000 VALVE,EVAP CANISTER PURGEH25A; 2000-04-01~2002-09-01 |
18117-65D00-000 |
US $161.60 |
||
|
9
|
9
08316-10063-000
Nut
H25A; 2000-04-01~2002-09-01 |
08316-10063-000 |
— | ||
| replacement | |||||
|
9
|
9
08316-1006B-000 NUTH25A; 2000-04-01~2002-09-01 |
08316-1006B-000 |
from US $0.76 |
||
|
10
|
10
18417-67D00-000
BRACKET,PURGE VALVE
H25A; 2000-04-01~2002-09-01 |
18417-67D00-000 |
— | ||
|
11
|
11
01550-06123-000
Bolt
H25A; 2000-04-01~2002-09-01 |
01550-06123-000 |
— | ||
| replacements | |||||
|
11
|
11
01550-0612B-000 BOLTBolt, clamp H25A; 2000-04-01~2002-09-01 |
01550-0612B-000 |
from US $0.76 |
||
|
11
|
11
01550-0612A-000 BOLTH25A; 2000-04-01~2002-09-01 |
01550-0612A-000 |
from US $0.76 |
||
|
12
|
12
09355-54115-600 HOSE(5.4X11.4X600)Hose, vacuum L:600>200; H25A; 2000-04-01~2002-09-01 |
09355-54115-600 |
from US $7.20 |
||
|
13
|
13
09355-54115-600 HOSE(5.4X11.4X600)Hose, vacuum L:600>140; H25A; 2000-04-01~2002-09-01 |
09355-54115-600 |
from US $7.20 |
||
|
14
|
14
09355-35754-601
HOSE(3.5X7.5X601)
L:601>140; H25A; 2000-04-01~2002-09-01 |
09355-35754-601 |
— | ||
| replacement | |||||
|
14
|
14
09355-35006-601 Hose(3.5X7.5X601)L:601>140; H25A; 2000-04-01~2002-09-01 |
09355-35006-601 |
from US $5.78 |
||
|
15
|
15
09355-54115-600 HOSE(5.4X11.4X600)Hose, vacuum L:600>280; H25A; 2000-04-01~2001-02-01 |
09355-54115-600 |
from US $7.20 |
||
|
16
|
16
18560-76A30-000
キャニスタ
H25A; 2000-04-01~2002-09-01 |
18560-76A30-000 |
— | ||
| replacement | |||||
|
16
|
16
18560-76A31-000 CANISTERH25A; 2000-04-01~2002-09-01 |
18560-76A31-000 |
from US $84.02 |
||
|
17
|
17
18570-54D00-000
BRACKET,CANISTER
H25A; 2000-04-01~2001-02-01 |
18570-54D00-000 |
— | ||
|
17
|
17
18570-54D01-000
BRACKET,CANISTER
H25A; 2001-03-01~2002-09-01 |
18570-54D01-000 |
— | ||
|
18
|
18
01550-08123-000
Bolt
H25A; 2000-04-01~2002-09-01 |
01550-08123-000 |
— | ||
| replacements | |||||
|
18
|
18
01550-0812B-000 BoltPlug, drain H25A; 2000-04-01~2002-09-01 |
01550-0812B-000 |
from US $0.96 |
||
|
18
|
18
01550-0812A-000 BOLTH25A; 2000-04-01~2002-09-01 |
01550-0812A-000 |
from US $0.91 |
||
|
19
|
19
18571-65D00-000 CAP,CANISTERH25A; 2000-04-01~2001-02-01 |
18571-65D00-000 |
US $8.48 |
||
|
20
|
20
09401-10409-000 CLIPH25A; 2000-04-01~2002-09-01 |
09401-10409-000 |
from US $1.12 |
||
|
21
|
21
09408-00138-000 CLAMPH25A; 2000-04-01~2002-09-01 |
09408-00138-000 |
US $27.20 |
||
|
22
|
22
18137-67D00-000 VALVE,IACH25A; 2000-04-01~2002-09-01 |
18137-67D00-000 |
US $397.76 |
||
|
23
|
23
18134-67D00-000 GASKET,IAC VALVEH25A; 2000-04-01~2002-09-01 |
18134-67D00-000 |
from US $2.24 |
||
|
24
|
24
01550-06253-000
Bolt (6x25)
H25A; 2000-04-01~2002-09-01 |
01550-06253-000 |
— | ||
| replacements | |||||
|
24
|
24
01550-0625B-000 BOLTBolt, head cover H25A; 2000-04-01~2002-09-01 |
01550-0625B-000 |
from US $0.91 |
||
|
24
|
24
01550-0625A-000 BOLTBolt H25A; 2000-04-01~2002-09-01 |
01550-0625A-000 |
from US $0.96 |
||
|
25
|
25
18141-67D00-000 HOSE,IAC VALVEH25A; 2000-04-01~2002-09-01 |
18141-67D00-000 |
US $26.40 |
||
|
26
|
26
09401-22405-000 CLIPH25A; 2000-04-01~2002-09-01 |
09401-22405-000 |
US $20.20 |
||
|
27
|
27
18536-77EA0-000 CLAMP,EGR PIPEH25A; 2000-04-01~2002-09-01 |
18536-77EA0-000 |
US $3.61 |
||
|
28
|
28
01550-06123-000
Bolt
H25A; 2000-04-01~2002-09-01 |
01550-06123-000 |
— | ||
| replacements | |||||
|
28
|
28
01550-0612B-000 BOLTBolt, clamp H25A; 2000-04-01~2002-09-01 |
01550-0612B-000 |
from US $0.76 |
||
|
28
|
28
01550-0612A-000 BOLTH25A; 2000-04-01~2002-09-01 |
01550-0612A-000 |
from US $0.76 |
||
|
29
|
29
18590-72F21-000
SENSOR,PRESSURE
H25A; 2000-04-01~2002-09-01 |
18590-72F21-000 |
— | ||
| replacement | |||||
|
29
|
29
18590-68H00-000 SENSOR,PRESSURESensor, pressure H25A; 2000-04-01~2002-09-01 |
18590-68H00-000 |
from US $196.47 |
||
|
30
|
30
07130-05163-000
Bolt
H25A; 2000-04-01~2002-09-01 |
07130-05163-000 |
— | ||
| replacement | |||||
|
30
|
30
07130-0516A-000 BoltH25A; 2000-04-01~2002-09-01 |
07130-0516A-000 |
from US $3.67 |
||
|
31
|
31
18567-67D00-000
ホース,キャニスタエア,NO.1
H25A; 2001-03-01~2002-09-01 |
18567-67D00-000 |
— | ||
| replacement | |||||
|
31
|
31
18500-67810-000
New Genuine Part
H25A; 2001-03-01~2002-09-01 |
18500-67810-000 |
— | ||
|
32
|
32
09355-70125-600 HOSE(7X12X600)Hose, fuel (pump to separator) L:600>140; H25A; 2001-03-01~2001-05-01 |
09355-70125-600 |
from US $5.51 |
||
| replacement | |||||
|
32
|
32
44421-12FR0-000 HOSEL:600>140; H25A; 2001-03-01~2001-05-01 |
44421-12FR0-000 |
from US $16.64 |
||
|
33
|
33
09355-70125-600 HOSE(7X12X600)Hose, fuel (pump to separator) L:600>140; H25A; 2001-03-01~2001-05-01 |
09355-70125-600 |
from US $5.51 |
||
| replacement | |||||
|
33
|
33
44421-12FR0-000 HOSEL:600>140; H25A; 2001-03-01~2001-05-01 |
44421-12FR0-000 |
from US $16.64 |
||
|
33
|
33
18568-67D00-000
ホース,キャニスタエア,N0.3
H25A; 2001-07-01~2002-09-01 |
18568-67D00-000 |
— | ||
|
34
|
34
09403-13310-000 CLAMPH25A; 2001-08-01~2002-09-01 |
09403-13310-000 |
US $1.92 |
||
|
35
|
35
09367-08004-000 3 WAY3 way (m8) H25A; 2001-03-01~2002-09-01 |
09367-08004-000 |
from US $2.24 |
||
|
36
|
36
09401-12404-000 CLIPClip H25A; 2001-03-01~2002-09-01 |
09401-12404-000 |
from US $1.52 |
||
|
37
|
37
09401-12404-000 CLIPClip H25A; 2001-08-01~2002-09-01 |
09401-12404-000 |
from US $1.52 |
||
|
37
|
37
09401-12410-000 CLIPClip, filter outlet H25A; 2001-07-01~2002-09-01 |
09401-12410-000 |
from US $1.19 |
||
|
38
|
38
09408-00050-000 CLAMPH25A; 2001-07-01~2002-09-01 |
09408-00050-000 |
from US $1.28 |
||
|
38
|
38
09408-00138-000 CLAMPH25A; 2001-05-01~2001-07-01 |
09408-00138-000 |
US $27.20 |
||