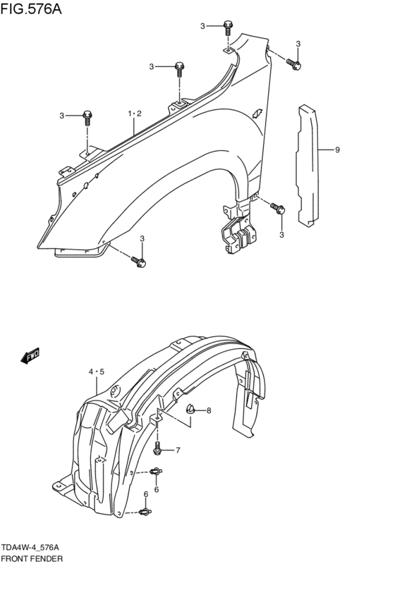
front fender (2010-01-01~) Diagram Suzuki ESCUDO
- Year
- 2010 - 2011
- Sales region
- Japan
- transmission
- MT
- grade
- XGV
- esp
- ESP
- audio
- TUNER-N
Difficulties in parts search?
Difficulties in parts search?
| Description | OEM Part # | Price | |||
|---|---|---|---|---|---|
|
1
|
1
57600-65810-000 PANEL SET,FR FNDR,R2010-01-01~ |
57600-65810-000 |
US $310.96 |
||
|
2
|
2
57710-65J30-000 PANEL,FR FENDER,L2010-01-01~ |
57710-65J30-000 |
US $336.72 |
||
|
3
|
3
01550-0612A-000 BOLT2010-01-01~ |
01550-0612A-000 |
from US $0.76 |
||
|
4
|
4
72481-65J00-000 LINING,FR FENDER,R2010-01-01~ |
72481-65J00-000 |
US $95.20 |
||
|
5
|
5
72482-65J00-000 LINING,FR FENDER,L2010-01-01~ |
72482-65J00-000 |
US $95.20 |
||
|
6
|
6
09409-07332-000 CLIP2010-01-01~ |
09409-07332-000 |
from US $1.28 |
||
|
7
|
7
09132-06025-000 SCREW(6X16)2010-01-01~ |
09132-06025-000 |
US $1.60 |
||
|
8
|
8
09148-06007-000 NUT2010-01-01~ |
09148-06007-000 |
US $0.91 |
||
|
9
|
9
72492-65J00-000 PAD,FR FENDER REAR2010-01-01~ |
72492-65J00-000 |
US $38.40 |