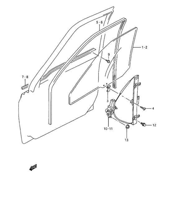
Front door regulator (FRONT DOOR REGULATOR) Diagram Suzuki GRAND VITARA
- Year
- -
- Sales region
- Caribbean
- drive
- 4WD
- transmission
- AT
- grade
- LIMITED
Difficulties in parts search?
Difficulties in parts search?
| Description | OEM Part # | Price | |||
|---|---|---|---|---|---|
|
1
|
1
84531-65D01-000 GLASS,FR DR WDO,R |
84531-65D01-000 |
US $185.84 |
||
|
2
|
2
84536-65D01-000 GLASS,FR DR WDO,L |
84536-65D01-000 |
US $185.84 |
||
|
3
|
3
83611-65D00-000 HOLDER,SIDE DOOR GLASS |
83611-65D00-000 |
US $2.08 |
||
|
4
|
4
03241-06203-000
スクリュ
|
03241-06203-000 |
— | ||
| replacement | |||||
|
4
|
4
03241-0620A-000 SCREW |
03241-0620A-000 |
US $0.80 |
||
|
5
|
5
83660-65D00-000
RUN,FR DOOR GLASS,R
|
83660-65D00-000 |
— | ||
|
6
|
6
83680-65D00-000
RUN,FR DOOR GLASS,L
|
83680-65D00-000 |
— | ||
|
7
|
7
83810-65D00-000 WEATHERSTRIP,FR DR OUT,R |
83810-65D00-000 |
US $134.40 |
||
|
8
|
8
83820-65D00-000 WEATHERSTRIP,FR DR OUT,L |
83820-65D00-000 |
US $134.40 |
||
|
9
|
9
09136-05059-000 SCREW(5X12) |
09136-05059-000 |
US $15.50 |
||
|
10
|
10
83401-65D10-000 REGULATOR ASSY,FR WINDOW,R |
83401-65D10-000 |
US $437.76 |
||
|
11
|
11
83402-65D10-000 REGULATOR ASSY,FR WINDOW,L |
83402-65D10-000 |
from US $366.23 |
||
|
12
|
12
01580-06123-000
Bolt
|
01580-06123-000 |
— | ||
| replacements | |||||
|
12
|
12
01580-0612B-000 Bolt |
01580-0612B-000 |
US $0.96 |
||
|
12
|
12
01580-0612A-000 Bolt |
01580-0612A-000 |
from US $0.91 |
||
|
13
|
13
08361-15063-000
Nut
|
08361-15063-000 |
— | ||
| replacement | |||||
|
13
|
13
08361-1506A-000 NUT |
08361-1506A-000 |
from US $0.74 |
||