Transfer gear shifting (4WD:AT:99,00,01,02 MODEL) Diagram Suzuki GRAND VITARA
- Year
- -
- Sales region
- Caribbean
- drive
- 4WD
- transmission
- AT
- grade
- LIMITED
Difficulties in parts search?
Difficulties in parts search?
| Description | OEM Part # | Price | |||
|---|---|---|---|---|---|
|
1
|
1
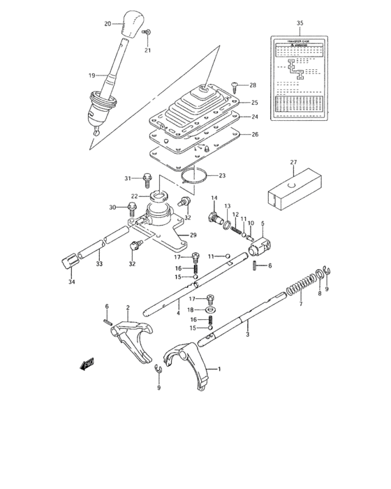
29311-85F42-000 FORK,T/F FR DRIVE SHF |
29311-85F42-000 |
US $128 |
||
|
2
|
2
29321-60A11-000 FORK,T/F REDUCTION SHIFT |
29321-60A11-000 |
US $128 |
||
|
3
|
3
29331-85F41-000 SHAFT,T/F FRONT DRIVE SHIFT99 MODEL,00 MODEL |
29331-85F41-000 |
US $34.04 |
||
|
3
|
3
29331-82D00-000
SHAFT,T/F FRONT DRIVE SHIFT
01 MODEL,02 MODEL |
29331-82D00-000 |
— | ||
|
3
|
3
29331-82D20-000 SHAFT,T/F FRONT DRIVE SHIFT02 MODEL,JS3TD62V 24152260~ |
29331-82D20-000 |
US $40.11 |
||
|
4
|
4
29332-60A10-000 SHAFT,T/F REDUCTION SHIFT |
29332-60A10-000 |
US $42.69 |
||
|
5
|
5
29339-60A00-000 YOKE,REDUCTION SHIFT SFT |
29339-60A00-000 |
US $33.86 |
||
|
6
|
6
09205-05012-000 PIN,SPRING(5X25) |
09205-05012-000 |
US $1.22 |
||
|
7
|
7
09440-18028-000 SPRING |
09440-18028-000 |
US $27.20 |
||
|
8
|
8
09181-14167-000 SHIM(14X22X1)Washer, gear shift rh |
09181-14167-000 |
from US $1.60 |
||
|
9
|
9
09383-10002-000 E RING |
09383-10002-000 |
US $18.40 |
||
|
10
|
10
29334-60A10-000 PIN,T/F SELECT RETURN |
29334-60A10-000 |
US $4.82 |
||
|
11
|
11
06111-12004-000 BALL |
06111-12004-000 |
from US $1.12 |
||
|
12
|
12
09440-10033-000 SPRING |
09440-10033-000 |
US $19.10 |
||
|
13
|
13
09160-18018-000 WASHER(18X24X2)Washer (18x24x2) |
09160-18018-000 |
US $0.96 |
||
|
14
|
14
29416-65D00-000 Bolt |
29416-65D00-000 |
US $7.58 |
||
|
15
|
15
06111-10003-000 BALL |
06111-10003-000 |
from US $0.80 |
||
|
16
|
16
29415-60A00-000 SPRING,T/F GEAR SHF SFT LCTG |
29415-60A00-000 |
US $2.72 |
||
|
17
|
17
09128-10002-000 BOLT(10X9) |
09128-10002-000 |
from US $1.28 |
||
|
18
|
18
09160-10119-000 WASHER(10.5X22X1.6)Washer, wheel set ~JS3TD62V 24152259 |
09160-10119-000 |
from US $0.96 |
||
| replacement | |||||
|
18
|
18
09160-10143-000 WASHER(10.5X22X1.6)~JS3TD62V 24152259 |
09160-10143-000 |
from US $0.91 |
||
|
19
|
19
29300-65D12-000
レバーアッシ,トランスファギヤシフトコントロール
99 MODEL,00 MODEL,01 MODEL,->29300-65D30,USED WITH,29344-65D01-5PK |
29300-65D12-000 |
— | ||
| replacement | |||||
|
19
|
19
29300-65D30-000 LEVER ASSY,T/F GEAR SHF CONT99 MODEL,00 MODEL,01 MODEL,->29300-65D30,USED WITH,29344-65D01-5PK |
29300-65D30-000 |
US $149.41 |
||
|
19
|
19
29300-65D30-000 LEVER ASSY,T/F GEAR SHF CONT02 MODEL |
29300-65D30-000 |
US $149.41 |
||
|
20
|
20
29344-65D01-5PK KNOB,T/F GEAR SHF CONT |
29344-65D01-5PK |
US $45.60 |
||
|
20
|
20
29344-65D11-5PK
KNOB ASSY,T/F SHF CONT
02 MODEL:LIMITED |
29344-65D11-5PK |
— | ||
|
21
|
21
09125-06112-000 SCREW(6X10)Screw, cntr shaft brg rtnr |
09125-06112-000 |
from US $4.76 |
||
|
22
|
22
29535-60A00-000 SEAT,T/F GEAR SHF LEVER |
29535-60A00-000 |
US $2.58 |
||
|
23
|
23
09401-57901-000 CLAMP |
09401-57901-000 |
US $7.84 |
||
|
24
|
24
29346-65D01-5PK BOOT,SHIFT LEVER NO.2 |
29346-65D01-5PK |
US $84.80 |
||
|
25
|
25
29347-65D10-000 COVER,T/F LVR BOOT |
29347-65D10-000 |
US $16.67 |
||
|
26
|
26
29349-85F11-000 SHEET,T/F GEAR SHIFT LEVER |
29349-85F11-000 |
US $11.70 |
||
|
27
|
27
29348-85F40-000 SILENCER,T/F LEVER NO.2 |
29348-85F40-000 |
US $10.05 |
||
|
28
|
28
03141-06203-000
Screw
|
03141-06203-000 |
— | ||
| replacement | |||||
|
28
|
28
03141-0620A-000 SCREW |
03141-0620A-000 |
US $0.80 |
||
|
29
|
29
29750-60A00-000 CASE,T/F GEAR SHIFT |
29750-60A00-000 |
US $85.38 |
||
|
30
|
30
01550-08203-000
Bolt
|
01550-08203-000 |
— | ||
| replacements | |||||
|
30
|
30
01550-0820B-000 Bolt |
01550-0820B-000 |
from US $0.91 |
||
|
30
|
30
01550-0820A-000 BOLTBolt, funnel bracket |
01550-0820A-000 |
from US $0.96 |
||
|
31
|
31
01550-08253-000
Bolt, rear
|
01550-08253-000 |
— | ||
| replacements | |||||
|
31
|
31
01550-0825B-000 BOLT |
01550-0825B-000 |
from US $0.96 |
||
|
31
|
31
01550-0825A-000 BOLT |
01550-0825A-000 |
from US $1.06 |
||
|
32
|
32
09103-08384-000 BOLT(8X18.4) |
09103-08384-000 |
US $19.10 |
||
|
33
|
33
09352-70113-00B
HOSE(7X11X2000)
L:2000->1040 |
09352-70113-00B |
— | ||
| replacement | |||||
|
33
|
33
09352-70119-00B Hose(7X11X2000)L:2000->1040 |
09352-70119-00B |
from US $22.40 |
||
|
34
|
34
27991-65D01-000 PLUG,BREATHER |
27991-65D01-000 |
from US $1.92 |
||
|
35
|
35
28381-65D01-000 EMBLEM,T/F GEAR SHIFTCalifornia,Puerto Rico |
28381-65D01-000 |
US $11.59 |
||
|
35
|
35
28381-65D51-000
EMBLEM,T/F GEAR SHIFT
Canada |
28381-65D51-000 |
— | ||