B rear bumper (B REAR BUMPER) Diagram Suzuki KEI/SWIFT
- Year
- -
- Sales region
- Caribbean
- transmission
- AT
Difficulties in parts search?
Difficulties in parts search?
| Description | OEM Part # | Price | |||
|---|---|---|---|---|---|
|
1
|
1
71811-50G00-P14
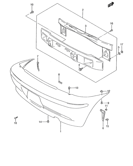
Bumper, rear upper
95 MODEL,96 MODEL,97 MODEL |
71811-50G00-P14 |
— | ||
|
1
|
1
71811-50G20-P14
Bumper, rear upper
98 MODEL,99 MODEL,00 MODEL,01 MODEL |
71811-50G20-P14 |
— | ||
|
2
|
2
71820-50G00-000
Member assy, rear bumper
|
71820-50G00-000 |
— | ||
|
3
|
3
71830-50G00-000
Stay, rear bumper
|
71830-50G00-000 |
— | ||
|
4
|
4
09118-08119-000 BOLT(8X25) |
09118-08119-000 |
from US $1.38 |
||
|
5
|
5
71841-60B00-000 SEAL,REAR BUMPER MEMBER |
71841-60B00-000 |
US $1.52 |
||
|
6
|
6
71861-50G00-000
Bracket, rear bumper side rh
95 MODEL,96 MODEL,97 MODEL |
71861-50G00-000 |
— | ||
|
6
|
6
71861-50G20-000
Bracket, rear bumper side rh
98 MODEL,99 MODEL,00 MODEL,01 MODEL |
71861-50G20-000 |
— | ||
|
7
|
7
71862-50G00-000
Bracket, rear bumper side lh
95 MODEL,96 MODEL,97 MODEL |
71862-50G00-000 |
— | ||
|
7
|
7
71862-50G20-000
Bracket, rear bumper side lh
98 MODEL,99 MODEL,00 MODEL,01 MODEL |
71862-50G20-000 |
— | ||
|
8
|
8
71771-60A00-000 RETAINER,FR LICENSE PLATE |
71771-60A00-000 |
US $4.16 |
||
|
9
|
9
09136-05057-000
Screw, fr turnsignal (5x20)
|
09136-05057-000 |
— | ||
| replacement | |||||
|
9
|
9
09136-05068-000 SCREW(5X20) |
09136-05068-000 |
from US $0.96 |
||
|
10
|
10
09136-06119-000 SCREW(6X16) |
09136-06119-000 |
US $17.70 |
||
|
11
|
11
09148-05018-000 NUT |
09148-05018-000 |
from US $0.63 |
||
|
12
|
12
09148-05028-000 NUT |
09148-05028-000 |
US $1.28 |
||
|
13
|
13
09409-07325-5PK CLIP(BLACK) |
09409-07325-5PK |
from US $1.37 |
||
|
14
|
14
09409-07325-5PK CLIP(BLACK) |
09409-07325-5PK |
from US $1.37 |
||
|
15
|
15
09409-07325-5PK CLIP(BLACK) |
09409-07325-5PK |
from US $1.37 |
||
|
16
|
16
03542-06163-000
Screw
|
03542-06163-000 |
— | ||
| replacement | |||||
|
16
|
16
03541-0616A-000 SCREW |
03541-0616A-000 |
from US $0.64 |
||
|
17
|
17
08316-10083-000
Nut
|
08316-10083-000 |
— | ||
| replacement | |||||
|
17
|
17
08316-1008B-000 NUT |
08316-1008B-000 |
from US $0.76 |
||
|
18
|
18
02142-06163-000
Screw
|
02142-06163-000 |
— | ||
| replacement | |||||
|
18
|
18
02142-0616A-000 SCREW |
02142-0616A-000 |
from US $0.76 |
||