console box (MT; 2007-04-01~) Diagram Suzuki LAPIN
- Year
- 2007 - 2011
- Sales region
- Japan
- Engine
- TURBO
- drive
- 2WD
- transmission
- MT
- grade
- S
- abs
- ABS
Difficulties in parts search?
Parts list
Difficulties in parts search?
| Description | OEM Part # | Price | |||
|---|---|---|---|---|---|
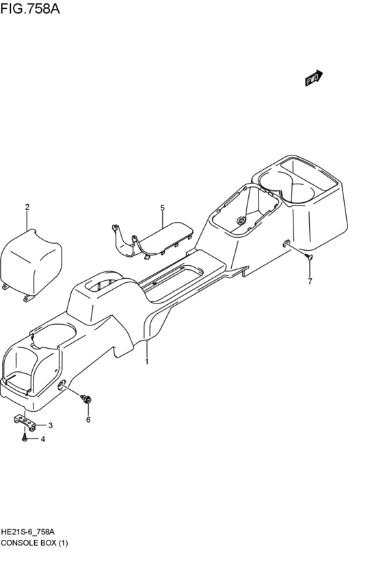
|
1
|
1
75811-75H10-P4Z
ボックス,フロアコンソール(グレー)
グレ-; MT; 2007-04-01~ |
75811-75H10-P4Z |
— | ||
|
2
|
2
75822-72J00-P4Z
リッド,フロアコンソールボックス,リヤ(グレー)
グレ-; MT; 2007-04-01~ |
75822-72J00-P4Z |
— | ||
|
3
|
3
75814-76F00-000 HINGE,CUP HOLDERMT; 2007-04-01~ |
75814-76F00-000 |
US $3.79 |
||
|
4
|
4
03541-0516A-000 SCREWMT; 2007-04-01~ |
03541-0516A-000 |
from US $0.68 |
||
|
5
|
5
75816-75H00-P4Z
カバー,パーキングブレーキレバーホール(グレー)
グレ-; MT; 2007-04-01~ |
75816-75H00-P4Z |
— | ||
|
6
|
6
09409-06322-P4Z CLIP(GRAY)グレ-; MT; 2007-04-01~ |
09409-06322-P4Z |
from US $1.67 |
||
|
7
|
7
03141-0512A-000 SCREWScrew, belt cooling duct MT; 2007-04-01~ |
03141-0512A-000 |
from US $0.76 |