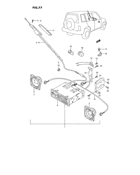
Radio (RADIO) Diagram Suzuki SIDEKICK
- Year
- -
- Sales region
- Caribbean
- transmission
- AT
- grade
- JX
Difficulties in parts search?
Difficulties in parts search?
| Description | OEM Part # | Price | |||
|---|---|---|---|---|---|
|
1
|
1
39100-62A00-000
Radio assy
EXC/Czech Republic |
39100-62A00-000 |
— | ||
|
1
|
1
39101-50B00-000
チューナアッシ(AM)
|
39101-50B00-000 |
— | ||
|
1
|
1
39100-62A10-000
Radio assy
|
39100-62A10-000 |
— | ||
|
1
|
1
39100-62A20-000
Radio assy
MECHANICAL TUNING |
39100-62A20-000 |
— | ||
|
1
|
1
39100-62A40-000
Radio assy
ELECTRIC TUNING |
39100-62A40-000 |
— | ||
|
1
|
1
39100-62A50-000
Radio assy
,Finland,Norway,Sweden,Switzerland,Belgium,,1,2,5,6,Italy,Austria,,Czech Republic,Iceland |
39100-62A50-000 |
— | ||
|
1
|
1
39100-62A30-000
Radio assy
Barbados |
39100-62A30-000 |
— | ||
|
1
|
1
39100-62A71-000
Radio assy
<-39100-62A70 |
39100-62A71-000 |
— | ||
|
1
|
1
39100-62A81-000
Radio assy
,,Finland,Norway,Sweden,Switzerland,Belgium,,1,2,5,6,Italy,Austria,,Czech Republic,Iceland |
39100-62A81-000 |
— | ||
|
1
|
1
39100-62A61-000
Radio assy
Barbados |
39100-62A61-000 |
— | ||
|
2
|
2
39102-60A00-000 SPEAKER ASSYAM,AM/FM,MONO |
39102-60A00-000 |
US $29.26 |
||
|
2
|
2
39102-50A20-000
SPEAKER ASSY
AM/FM,MULTI,AM/FM,CASSETTE |
39102-50A20-000 |
— | ||
|
2
|
2
39102-60A20-000
SPEAKER ASSY,FR
Barbados:AM/FM,MULTI,AM/FM,CASSETTE |
39102-60A20-000 |
— | ||
|
2
|
2
39102-60B10-000 SPEAKER ASSY,RRAM/FM,CASSETTE |
39102-60B10-000 |
US $64.40 |
||
|
2
|
2
39102-50E10-000
SPEAKER ASSY,FR
AM/FM,CASSETTE,TD01V-118862~,JSAETD01V00127820~ |
39102-50E10-000 |
— | ||
|
3
|
3
39250-60AA0-000 ANTENNA ASSY |
39250-60AA0-000 |
US $64 |
||
|
4
|
4
39251-50G00-000
スクリュ,アンテナ
|
39251-50G00-000 |
— | ||
| replacement | |||||
|
4
|
4
09129-04003-000 SCREW(4X12) |
09129-04003-000 |
US $15.10 |
||
|
5
|
5
09403-06412-000 CLAMP<-09408-00132 |
09403-06412-000 |
US $12.90 |
||
|
6
|
6
39101-50B00-000
チューナアッシ(AM)
AM:Czech Republic |
39101-50B00-000 |
— | ||
|
6
|
6
39101-70E30-000
Tuner assy
:~JSAETD01V00153597 |
39101-70E30-000 |
— | ||
|
7
|
7
39102-50A20-000
SPEAKER ASSY
:~JSAETD01V00153597 |
39102-50A20-000 |
— | ||
|
7
|
7
39102-60B10-000 SPEAKER ASSY,RR:AM/FMCASSETTE,~JSAETD01V00153597 |
39102-60B10-000 |
US $64.40 |
||
|
7
|
7
39102-60A00-000 SPEAKER ASSYAM:Czech Republic |
39102-60A00-000 |
US $29.26 |
||
|
8
|
8
39250-60AA0-000 ANTENNA ASSYAM:Czech Republic |
39250-60AA0-000 |
US $64 |
||
|
9
|
9
39251-50G00-000
スクリュ,アンテナ
AM:Czech Republic |
39251-50G00-000 |
— | ||
| replacement | |||||
|
9
|
9
09129-04003-000 SCREW(4X12)AM:Czech Republic |
09129-04003-000 |
US $15.10 |
||
|
10
|
10
09403-06412-000 CLAMPAM:Czech Republic |
09403-06412-000 |
US $12.90 |
||
|
11
|
11
39262-60A00-000
COVER,ANT HOLE
N/RADIO |
39262-60A00-000 |
— | ||
|
12
|
12
33551-60A10-000 CONDENSER,NOISE SUPPR |
33551-60A10-000 |
US $14.32 |
||
|
13
|
13
02142-05123-000
Screw 5x12
|
02142-05123-000 |
— | ||
| replacement | |||||
|
13
|
13
02142-0512A-000 SCREWScrew, lower |
02142-0512A-000 |
from US $0.80 |
||
|
14
|
14
33552-86000-000 FILTER,NOISE SUPPRESSOR |
33552-86000-000 |
US $70.40 |
||
|
15
|
15
36855-60A20-000
Wire,speaker
AM/FM,MULTI,AM/FM,CASSETTE,(ELECTRIC TUNING) |
36855-60A20-000 |
— | ||
|
15
|
15
36855-86000-000
Wire, speaker
AM/FM,MULTI,(MECHANICAL TUNING),<-36855-60A10 |
36855-86000-000 |
— | ||
|
16
|
16
36865-82000-000 TERMINAL,GND |
36865-82000-000 |
US $2.80 |
||
|
17
|
17
01550-06103-000
Bolt, front
|
01550-06103-000 |
— | ||
| replacements | |||||
|
17
|
17
01550-0610B-000 BoltBolt |
01550-0610B-000 |
from US $0.80 |
||
|
17
|
17
01550-0610A-000 BOLT |
01550-0610A-000 |
from US $0.80 |
||
|
18
|
18
33553-52E00-000 FILTER,NOISE SUPPRTYPE 3 |
33553-52E00-000 |
US $57.76 |
||
|
19
|
19
39321-70E00-000 BRACKET,TUNER SIDE:TYPE 2 |
39321-70E00-000 |
US $4.49 |
||
|
20
|
20
02142-05083-000
Screw
:TYPE 2 |
02142-05083-000 |
— | ||
| replacement | |||||
|
20
|
20
02142-0508A-000 SCREWScrew, cap :TYPE 2 |
02142-0508A-000 |
from US $0.76 |
||
|
21
|
21
03241-05123-000
Screw
:TYPE 2 |
03241-05123-000 |
— | ||
| replacement | |||||
|
21
|
21
03241-0512A-000 SCREW:TYPE 2 |
03241-0512A-000 |
from US $0.68 |
||
|
22
|
22
09148-05038-000 NUTNut, inner :TYPE 2 |
09148-05038-000 |
from US $0.91 |
||
|
23
|
23
03241-05123-000
Screw
:TYPE 2 |
03241-05123-000 |
— | ||
| replacement | |||||
|
23
|
23
03241-0512A-000 SCREW:TYPE 2 |
03241-0512A-000 |
from US $0.68 |
||
|
24
|
24
39321-70E20-000
BRACKET,TUNER
:TYPE 2 |
39321-70E20-000 |
— | ||
|
25
|
25
02142-06123-000
Screw
:TYPE 2 |
02142-06123-000 |
— | ||
| replacements | |||||
|
25
|
25
02142-0612B-000 SCREW:TYPE 2 |
02142-0612B-000 |
from US $0.76 |
||
|
25
|
25
02142-0612A-000 SCREW:TYPE 2 |
02142-0612A-000 |
from US $0.80 |
||