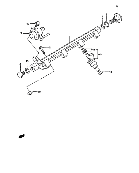
Delivery pipe (TYPE 3:4 VALVE) Diagram Suzuki SIDEKICK
- Year
- -
- Sales region
- All regions
- transmission
- 4AT
- grade
- 70 ANNIVERSARY
Difficulties in parts search?
Difficulties in parts search?
| Description | OEM Part # | Price | |||
|---|---|---|---|---|---|
|
1
|
1
15731-57B00-000
パイプ,デリバリ
|
15731-57B00-000 |
— | ||
| replacement | |||||
|
1
|
1
15700-57811-000
PIPE SET,DELIVERY
|
15700-57811-000 |
— | ||
|
2
|
2
01550-08453-000
Bolt,cylinder h
|
01550-08453-000 |
— | ||
| replacements | |||||
|
2
|
2
01550-0845B-000 BOLT |
01550-0845B-000 |
from US $1.06 |
||
|
2
|
2
01550-0845A-000 BOLTBolt, oil pump (s) |
01550-0845A-000 |
US $5.03 |
||
|
3
|
3
09247-14029-000 PLUG |
09247-14029-000 |
from US $1.76 |
||
|
4
|
4
15762-61B00-000
Gasket,union(14x19x0.84)
|
15762-61B00-000 |
— | ||
| replacement | |||||
|
4
|
4
15762-61B01-000 GASKET,UNION(14X19X0.84) |
15762-61B01-000 |
US $1.52 |
||
|
5
|
5
15750-82400-000 DUMPER ASSY,PULSATION |
15750-82400-000 |
US $98.80 |
||
|
6
|
6
15763-61B00-000 GASKET,UNION(17X22X0.84) |
15763-61B00-000 |
US $1.52 |
||
|
7
|
7
15160-58B00-000 REGULATOR,PRESSURE |
15160-58B00-000 |
US $187.20 |
||
|
8
|
8
15710-58B00-000 INJECTOR ASSY,FUEL |
15710-58B00-000 |
from US $279.45 |
||
|
9
|
9
15716-58BT0-000 GROMMET SET,FUEL INJECTOR |
15716-58BT0-000 |
US $17.22 |
||
|
10
|
10
15735-58B00-000 INSULATOR,DELIVERY PIPEInsulator, delivery pipe |
15735-58B00-000 |
US $2.72 |
||
|
11
|
11
09320-08062-000 CUSHION |
09320-08062-000 |
from US $4.32 |
||
|
12
|
12
01550-06123-000
Bolt
|
01550-06123-000 |
— | ||
| replacements | |||||
|
12
|
12
01550-0612B-000 BOLTBolt, clamp |
01550-0612B-000 |
from US $0.76 |
||
|
12
|
12
01550-0612A-000 BOLT |
01550-0612A-000 |
from US $0.76 |
||
|
13
|
13
09168-14012-000
Washer
|
09168-14012-000 |
— | ||
| replacement | |||||
|
13
|
13
09168-14015-000 GASKET(14X20X1.5)Gasket, oil hose union |
09168-14015-000 |
from US $1.37 |
||