Ventilator (RHD) Diagram Suzuki SIERRA
- Year
- -
- Sales region
- Pacific
- grade
- STD
Difficulties in parts search?
Parts list
Difficulties in parts search?
| Description | OEM Part # | Price | |||
|---|---|---|---|---|---|
|
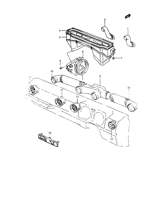
1
|
1
73641-83011-000
ホース,ベンチレータボックス,ライト
|
73641-83011-000 |
— | ||
| replacement | |||||
|
1
|
1
73641-70A00-000 HOSE,VENTILATOR BOX |
73641-70A00-000 |
US $12.96 |
||
|
2
|
2
73642-83011-000
ホース,ベンチレータボックス,レフト
|
73642-83011-000 |
— | ||
| replacement | |||||
|
2
|
2
73641-70A00-000 HOSE,VENTILATOR BOX |
73641-70A00-000 |
US $12.96 |
||
|
3
|
3
73610-83003-000 BOX,COWL VENTILATOR |
73610-83003-000 |
US $101.60 |
||
|
4
|
4
73613-M8300-100
Weatherstrip
|
73613-M8300-100 |
— | ||
|
5
|
5
08316-M1606-600
Nut
|
08316-M1606-600 |
— | ||
|
6
|
6
74250-83001-000 BOX,HTR CTR |
74250-83001-000 |
US $52.80 |
||
|
7
|
7
74259-83000-000 PACKING,HEATER CONTROL NO.3 |
74259-83000-000 |
US $7.04 |
||
|
8
|
8
03541-04103-000
Screw
|
03541-04103-000 |
— | ||
| replacement | |||||
|
8
|
8
03541-0410A-000 SCREW |
03541-0410A-000 |
from US $0.80 |
||
|
9
|
9
74611-M8300-000
Duct, ventilator
|
74611-M8300-000 |
— | ||
|
10
|
10
74612-M8300-000
Hose, side defroster
|
74612-M8300-000 |
— | ||
|
11
|
11
73200-M8302-000
Louver assy, ventilator
|
73200-M8302-000 |
— | ||
|
12
|
12
73220-M8300-000
Louver assy, ventilator
|
73220-M8300-000 |
— | ||
|
13
|
13
73850-83020-5PK
Panel, heater control
|
73850-83020-5PK |
— | ||
| replacement | |||||
|
13
|
13
73850-83000-5PK PANEL,HEATER CONTROL |
73850-83000-5PK |
US $74.40 |
||