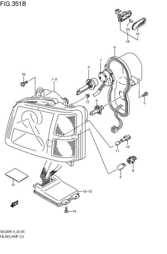
head lamp (FRS,FRM; 2001-10-01~2002-08-01) Diagram Suzuki WAGON R/PLUS/SOLIO/WIDE
- Year
- 2001 - 2011
- Sales region
- Japan
- Engine
- TURBO
- drive
- 2WD
- transmission
- AT
- grade
- FRM
- abs
- ABS
- side air bag
- NSAB
Difficulties in parts search?
Difficulties in parts search?
| Description | OEM Part # | Price | |||
|---|---|---|---|---|---|
|
1
|
1
35120-84FV0-000
ユニット,ヘッドランプライト
FRS,FRM; 2001-10-01~2002-07-01 |
35120-84FV0-000 |
— | ||
|
1
|
1
35120-84F41-000
ユニット,ヘッドランプ,ライト
FRS,FRM; 2002-07-01~2002-08-01 |
35120-84F41-000 |
— | ||
|
2
|
2
35320-84FV0-000
ユニット,ヘッドランプレフト
FRS,FRM; 2001-10-01~2002-07-01 |
35320-84FV0-000 |
— | ||
|
2
|
2
35320-84F41-000
ユニット,ヘッドランプ,レフト
FRS,FRM; 2002-07-01~2002-08-01 |
35320-84F41-000 |
— | ||
|
3
|
3
09471-12208-000 BULB(12V35W/D2S)FRS,FRM; 2001-10-01~2002-08-01 |
09471-12208-000 |
from US $297.16 |
||
|
4
|
4
35267-84F00-000
カバーアッシ,バック
FRS,FRM; 2001-10-01~2002-08-01 |
35267-84F00-000 |
— | ||
|
5
|
5
35265-84F00-000 BoltFRS,FRM; 2001-10-01~2002-08-01 |
35265-84F00-000 |
US $4.16 |
||
|
6
|
6
09471-12188-000 BULB(12V55W/H7/PX26D/PHILIPS)Bulb (12v55w,h7) FRS,FRM; 2001-10-01~2002-08-01 |
09471-12188-000 |
from US $18.59 |
||
|
7
|
7
35262-84F00-000
イグナイタ
FRS,FRM; 2001-10-01~2002-08-01 |
35262-84F00-000 |
— | ||
|
8
|
8
36118-76F10-000 SOCKET,TURN LAMPFRS,FRM; 2001-10-01~2002-08-01 |
36118-76F10-000 |
from US $4.91 |
||
|
9
|
9
09471-12191-000 BULB(12V21W)FRS,FRM; 2001-10-01~2002-08-01 |
09471-12191-000 |
from US $3.87 |
||
|
10
|
10
35118-76F00-000 SOCKET,POSITION LAMPFRS,FRM; 2001-10-01~2002-08-01 |
35118-76F00-000 |
from US $9.28 |
||
|
11
|
11
09471-12081-000
Bulb (12v,5w)
TOKAI DENSO; FRS,FRM; 2001-10-01~2002-08-01 |
09471-12081-000 |
— | ||
| replacement | |||||
|
11
|
11
09471-12216-000 BULB(12V5W)Bulb (12v5w) TOKAI DENSO; FRS,FRM; 2001-10-01~2002-08-01 |
09471-12216-000 |
from US $2.66 |
||
|
12
|
12
35261-84F00-000
バラスト/スタータアッシ,ライト
FRS,FRM; 2001-10-01~2002-08-01 |
35261-84F00-000 |
— | ||
|
13
|
13
35261-84F10-000
バラスト/スタータアッシ,レフト
FRS,FRM; 2001-10-01~2002-08-01 |
35261-84F10-000 |
— | ||
|
14
|
14
35265-84F00-000 BoltFRS,FRM; 2001-10-01~2002-08-01 |
35265-84F00-000 |
US $4.16 |
||
|
15
|
15
35269-84F00-000
テープ,コード
FRS,FRM; 2001-10-01~2002-08-01 |
35269-84F00-000 |
— | ||
|
16
|
16
09122-76001-000 SCREW(6X16)FRS,FRM; 2001-10-01~2002-08-01 |
09122-76001-000 |
US $0.80 |
||
|
17
|
17
35153-60G00-000 GROMMET,LAMPFRS,FRM; 2001-10-01~2002-08-01 |
35153-60G00-000 |
from US $1.60 |
||
|
18
|
18
36410-50E01-000 LAMP,SIDE TURN(HSGFRS,FRM; 2001-10-01~2002-08-01 |
36410-50E01-000 |
from US $19.22 |
||
|
19
|
19
36412-70B00-000 LENS,SIDE TURN (AMBER)(AMBER) FRS,FRM; 2001-10-01~2002-08-01 |
36412-70B00-000 |
from US $4.55 |
||
|
20
|
20
09471-12081-000
Bulb (12v,5w)
TOKAI DENSO; FRS,FRM; 2001-10-01~2002-08-01 |
09471-12081-000 |
— | ||
| replacement | |||||
|
20
|
20
09471-12216-000 BULB(12V5W)Bulb (12v5w) TOKAI DENSO; FRS,FRM; 2001-10-01~2002-08-01 |
09471-12216-000 |
from US $2.66 |
||