Instrument Panel & Glove Compartment ([12.2012 - ] (1212- )AGYA) Diagram Toyota AGYA/ WIGO

Year
2017 - 2018
Sales region
General
Frame
B101
grade
HIS
ENGINE
3NRVE
TRANSMISSION
ATM
Model
AGYA
From
04.2017
No.of Doors
5D
Vehicle Model
AGYA
Driver's Position
RHD

Difficulties in parts search?

Parts list
Instrument Panel & Glove Compartment

Difficulties in parts search?

Instrument Panel & Glove Compartment
Description OEM Part # Price
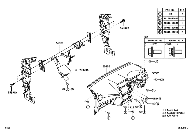
55301
55301
55311-BZ580-B0
Panel Sub-Assy, Instrument

[04.2017 -] B10#..AGYA DK.GRAY,TRIM1#

55311-BZ580-B0

55331
55331
55305-BZ840
Reinforcement, Instrument Panel

[04.2017 -] B10#..ATM..AGYA

55305-BZ840

55355
55355
55355-BZ100
Cushion, Instrument Panel, No.1

[04.2017 -] B10#

55355-BZ100

55394B
55394B

55394-BZ020

Bolt, Instrument Panel

[04.2017 -] B10#

55394-BZ020

US $2.77

73970A
73970A
73970-BZ120-B0
Air Bag Assy, Instrument Panel Passenger

[04.2017 -] B10#..AGYA DK.GRAY,TRIM1#

73970-BZ120-B0

9004A11214
9004A11214
9004A-11214
New Genuine Part

9004A-11214

9004A11235
9004A11235

9004A-11235

New Genuine Part

9004A-11235

US $1.60

9004A11313
9004A11313

9004A-11313

BOLT WWASHER

9004A-11313

US $0.49

9004A16036
9004A16036

9004A-16036

Clip, No.2(For Cowl Side Trim)

9004A-16036

US $1.97

9004183025
9004183025

90041-83025

New Genuine Part

90041-83025

US $2.15

9015970003
9015970003

90159-70003

Bolt, W/washer

90159-70003

from US $0.52

Instrument Panel & Glove Compartment ([12.2012 - ] (1212- )AGYA) Diagram Toyota AGYA/ WIGO General 17948910-928002