Ignition Coil & Spark Plug ([08.1987 - ] (8708- )) Diagram Toyota COROLLA
- Year
- 1989 - 1992
- Sales region
- Europe
- Frame
- AE92
- grade
- LE
- body
- SED
- ENGINE
- 4AFE
- TRANSMISSION
- ATM
- PRODUCT
- JPP
- DESTINATION
- CND
- Model
- COROLLA (JPP)
- From
- 08.1989
- To
- 06.1992
- Gear Shift Type
- 4FC
- Vehicle Model
- Corolla
- Fuel Induction
- EFI
Difficulties in parts search?
Parts list
Difficulties in parts search?
| Description | OEM Part # | Price | |||
|---|---|---|---|---|---|
|
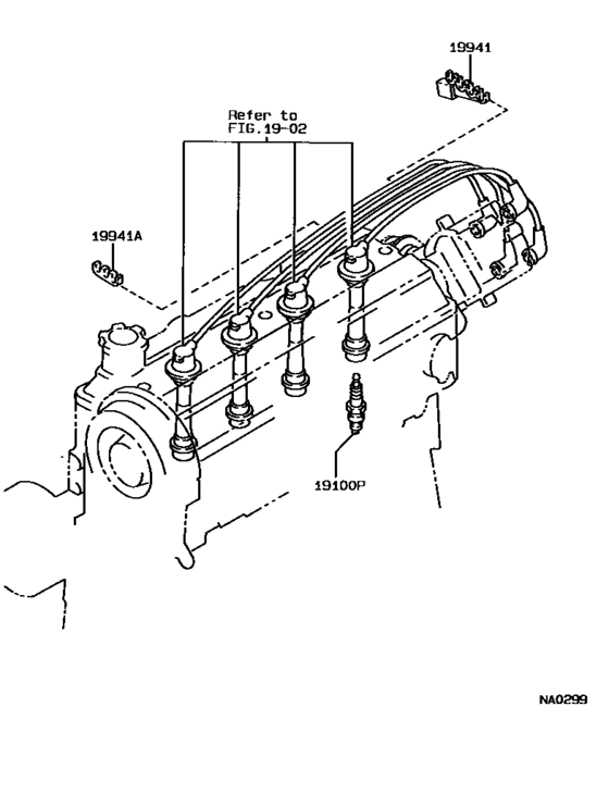
19100P
|
19100P
90919-01153 Plug, Spark[08.1989 - 06.1992] 4AFE..AE9# Q16R-U |
90919-01153 |
from US $3.33 |
||
|
19941
|
19941
90929-01165
Clamp, Resistive Cord, No.1
[08.1987 - 09.1989] 4AF#..AE9# |
90929-01165 |
— | ||
| replacement | |||||
|
19941
|
19941
90929-01274
Clamp, Resistive Cord, No.1
[08.1987 - 09.1989] 4AF#..AE9# |
90929-01274 |
— | ||
|
19941
|
19941
90929-01274
Clamp, Resistive Cord, No.1
[09.1989 - 06.1992] 4AFE..AE9# |
90929-01274 |
— | ||
|
19941A
|
19941A
90464-00287 Clamp(For Resistive Cord)[08.1987 - 08.1990] 4AF#..AE92..5F; 4AFE..AE92..ATM |
90464-00287 |
US $7.16 |
||