Hood & Front Fender ([07.2016 - ] HOOD (1607- )) Diagram Toyota GT86

Year
2016 - 2018
Sales region
U.S.A.
Frame
ZN6EY
grade
STD
ENGINE
FA20
TRANSMISSION
MTM
CATEGORY
E
From
07.2016
Gear Shift Type
6F
Vehicle Model
FT86

Difficulties in parts search?

Parts list
Hood & Front Fender

Difficulties in parts search?

Hood & Front Fender
Description OEM Part # Price
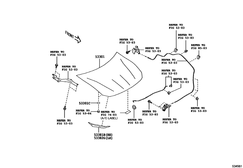
53301
53301

SU003-01394

Hood Sub-Assy

[07.2016 -] ZN6

SU003-01394

from US $773.24

53301C
53301C

SU003-04684

Protector, Hood Cushion

[07.2016 -] ZN6

SU003-04684

US $2.33

53381B
53381B

SU003-01396

Seal, Hood To Radiator Support, Rh

[07.2016 -] ZN6

SU003-01396

US $9.86

53382G
53382G

SU003-01396

Seal, Hood To Radiator Support, Rh

[07.2016 -] ZN6

SU003-01396

US $9.86

Hood & Front Fender ([07.2016 - ] HOOD (1607- )) Diagram Toyota GT86 U.S.A. 17785966-914862