Cylinder Head ([02.2005 - ] (0502- )1GRFE) Diagram Toyota HILUX/4RUNNER TRUCK
- Year
- 2005 - 2011
- Sales region
- U.S.A.
- Frame
- GGN15
- grade
- SR
- ENGINE
- 1GRFE
- DESTINATION
- ARL
- DECK
- SD
- CAB
- XTR
- Model
- HILUX
- From
- 02.2005
- To
- 07.2011
- Gear Shift Type
- 5FC
- Vehicle Model
- Hilux
- Driver's Position
- RHD
- Fuel Induction
- HTWC
- Building Condition
- CBU
Difficulties in parts search?
Difficulties in parts search?
| Description | OEM Part # | Price | |||
|---|---|---|---|---|---|
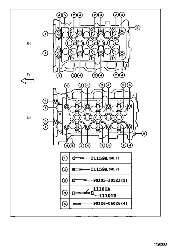
|
11101A
|
11101A
90910-02149
Bolt(For Cylinder Head Set)
[02.2005 - 08.2005] 1GRFE..GGN15,25 |
90910-02149 |
— | ||
| replacement | |||||
|
11101A
|
11101A
90910-02162 Bolt(For Cylinder Head Set)[02.2005 - 08.2005] 1GRFE..GGN15,25 |
90910-02162 |
from US $5.56 |
||
|
11101A
|
11101A
90910-02162 Bolt(For Cylinder Head Set)[08.2005 - 12.2008] 1GRFE..GGN15,25 |
90910-02162 |
from US $5.56 |
||
|
11101B
|
11101B
90201-11034 Washer, Plate(For Cylinder Head Set)[02.2005 - 12.2008] 1GRFE..GGN15,25 |
90201-11034 |
from US $0.90 |
||
|
11159A
|
11159A
90105-08353 Bolt(For Head To Camshaft Bearing Cap)[02.2005 - 12.2008] 1GRFE..GGN15,25 NO.1 |
90105-08353 |
from US $0.92 |
||
|
11159A
|
11159A
90119-06902 Bolt(For Head To Camshaft Bearing Cap)[08.2008 - 04.2012] 1GRFE..GGN15..SCB,XTR;1GRFE..GGN25..5FC..SA;1GRFE..GGN15..DCB..DLX;1GRFE..GGN15,35 ..DCB..5FC..SR;1GRFE..GGN25..DCB..(ANCOM,ARL,LA) NO.2 |
90119-06902 |
US $1.61 |
||
|
9010510521
|
9010510521
90105-10521 Bolt(For Cylinder Head Set Sub) |
90105-10521 |
from US $1.56 |
||
|
9012606026
|
9012606026
90126-06026 Bolt, Stud(Manifold To Throttle Body) |
90126-06026 |
from US $0.64 |
||