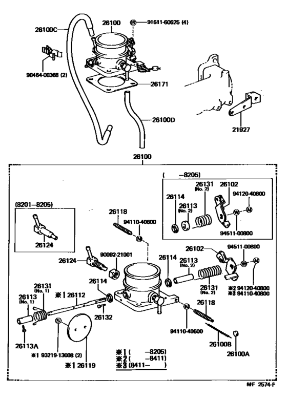
Venturi ([08.1980 - ] (8008- )3B) Diagram Toyota LAND CRUISER
- Year
- 1984 - 1987
- Sales region
- General
- Frame
- BJ60
- body
- WGV
- Roof
- SRF
- ENGINE
- 3B
- TRANSMISSION
- MTM
- DESTINATION
- GEN
- Model
- LAND CRUISER 60
- From
- 11.1984
- To
- 08.1987
- Gear Shift Type
- 5F
- Vehicle Model
- Land Cruiser
- Back Door
- SOB
- Driver's Position
- LHD
- Fuel Induction
- DSL
Difficulties in parts search?
Difficulties in parts search?
| Description | OEM Part # | Price | |||
|---|---|---|---|---|---|
|
21927
|
21927
21927-56020
Support, Wire(For Accelerator Bellcrank)
[08.1980 - 11.1984] 3B..BJ60 |
21927-56020 |
— | ||
|
26100
|
26100
26100-58021
Venturi Assy
[05.1982 - 11.1984] 3B..BJ60 |
26100-58021 |
— | ||
|
26100
|
26100
26100-58022
Venturi Assy
[11.1984 - 08.1987] 3B..BJ60 |
26100-58022 |
— | ||
|
26100A
|
26100A
22354-77050 Seal, Lead[08.1980 - 08.1987] 3B..BJ60; 2H..HJ60..MTM |
22354-77050 |
from US $0.28 |
||
|
26100B
|
26100B
22355-36010
Wire, Governor Housing Seal
[08.1980 - 08.1987] 3B..BJ60 |
22355-36010 |
— | ||
|
26100C
|
26100C
90447-12016
Hose, Vaccum, No.1(Venturi To Governor)
[08.1980 - 08.1987] 3B..BJ60 |
90447-12016 |
— | ||
|
26100D
|
26100D
90447-12001
Pipe, Air Cleaner Vent
[08.1980 - 08.1987] 3B..BJ60 |
90447-12001 |
— | ||
|
26102
|
26102
26102-58021
Lever Sub-Assy, Throttle Shaft Adjusting
[05.1982 - 11.1984] 3B..BJ60 |
26102-58021 |
— | ||
|
26102
|
26102
26111-58022
Lever Sub-Assy, Throttle Shaft Adjusting
[11.1984 - 08.1987] 3B..BJ60 |
26111-58022 |
— | ||
|
26113
|
26113
26113-58021
Collar, Throttle Valve Shaft
[05.1982 - 08.1987] 3B..BJ60 NO.1 |
26113-58021 |
— | ||
|
26113
|
26113
26113-68012
Collar, Throttle Valve Shaft
[05.1982 - 08.1987] 2H..HJ60..MTM NO.1; 3B..BJ60 NO.2 |
26113-68012 |
— | ||
|
26113A
|
26113A
26132-56010
Pin, Throttle Valve Shaft
[08.1980 - 08.1987] 3B..BJ60; 2H..HJ60..MTM |
26132-56010 |
— | ||
|
26114
|
26114
26114-76010 Washer, Throttle Valve Shaft Adjusting[08.1980 - 08.1987] 3B..BJ60 T=0.1,T=0.1; 2H..HJ60..MTM T=0.1,T=0.1 |
26114-76010 |
US $1.60 |
||
|
26114
|
26114
26115-76010 Washer, Throttle Valve Shaft Adjusting[08.1980 - 08.1987] 3B..BJ60 T=0.2,T=0.2; 2H..HJ60..MTM T=0.2,T=0.2 |
26115-76010 |
US $1.60 |
||
|
26114
|
26114
26116-76010 Washer, Throttle Valve Shaft Adjusting[08.1980 - 08.1987] 3B..BJ60 T=0.5,T=0.5; 2H..HJ60..MTM T=0.5,T=0.5 |
26116-76010 |
US $1.60 |
||
|
26118
|
26118
22325-77020
Screw, Lever Stop
[05.1987 - 08.1987] 3B..BJ60; 2H..HJ60..MTM |
22325-77020 |
— | ||
|
26118
|
26118
26118-48014
Screw, Stop Plate Adjusting
[08.1980 - 08.1987] 3B..BJ60; 2H..HJ60..MTM |
26118-48014 |
— | ||
| replacement | |||||
|
26118
|
26118
22325-77020
Screw, Lever Stop
[08.1980 - 08.1987] 3B..BJ60; 2H..HJ60..MTM |
22325-77020 |
— | ||
|
26124
|
26124
26124-56030
Connector, Venturi Pipe
[05.1982 - 11.1984] 3B..BJ60 |
26124-56030 |
— | ||
|
26124
|
26124
26124-58020
Connector, Venturi Pipe
[11.1984 - 08.1987] 3B..BJ60 |
26124-58020 |
— | ||
|
26131
|
26131
26131-58023
Spring, Return
[05.1982 - 08.1987] 3B..BJ60 NO.1 |
26131-58023 |
— | ||
|
26131
|
26131
26131-58024
Spring, Return
[05.1982 - 08.1987] 3B..BJ60 NO.2 |
26131-58024 |
— | ||
|
26132
|
26132
26132-56011
Pin, Throttle Valve Shaft
[08.1980 - 08.1987] 3B..BJ60; 2H..HJ60..MTM NO.2 |
26132-56011 |
— | ||
|
26171
|
26171
26171-56020
Gasket, Venturi
[08.1980 - 08.1987] 3B..BJ60 |
26171-56020 |
— | ||
| replacement | |||||
|
26171
|
26171
26171-56050
Gasket, Venturi
[08.1980 - 08.1987] 3B..BJ60 |
26171-56050 |
— | ||
|
9009221001
|
9009221001
90092-21001 NUT |
90092-21001 |
US $0.42 |
||
|
9046400368
|
9046400368
90464-00368
Clamp Or Clip(For Radiator Reserve Tank Hose No.3)
|
90464-00368 |
— | ||
| replacement | |||||
|
9046400368
|
9046400368
90464-00618 Clamp Or Clip(For Radiator Reserve Tank Hose No.3) |
90464-00618 |
US $0.96 |
||
|
9161160625
|
9161160625
91611-60625
Bolt, W/washer (For Parking Cove & Case)
|
91611-60625 |
— | ||
| replacement | |||||
|
9161160625
|
9161160625
91611-B0625 Bolt (For Automatic Transmission Oil Pan) |
91611-B0625 |
from US $0.38 |
||
|
9321913008
|
9321913008
93219-13008 New Genuine Part |
93219-13008 |
US $0.87 |
||
|
9411040600
|
9411040600
94110-40600 Nut, Rock |
94110-40600 |
from US $0.65 |
||
|
9411040800
|
9411040800
94110-40800
Nut(For Steering Damper)
|
94110-40800 |
— | ||
| replacement | |||||
|
9411040800
|
9411040800
94130-00802 Nut, No.1 (For Center Support Bearing) |
94130-00802 |
from US $0.87 |
||
|
9412040800
|
9412040800
94120-40800 Nut(For Clutch Pedal Stopper) |
94120-40800 |
US $1.61 |
||
|
9451100800
|
9451100800
94511-00800 WASHERSPRING |
94511-00800 |
US $1.79 |
||