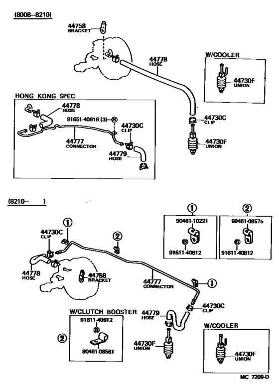
Brake Booster & Vacuum Tube ([08.1980 - 11.1984] (8008-8411)FJ60..RHD) Diagram Toyota LAND CRUISER
- Year
- 1982 - 1984
- Sales region
- General
- Frame
- FJ60
- body
- WGG
- Roof
- SRF
- ENGINE
- 2F
- TRANSMISSION
- MTM
- DESTINATION
- ARL
- Model
- LAND CRUISER 60
- From
- 10.1982
- To
- 11.1984
- Gear Shift Type
- 5F
- Vehicle Model
- Land Cruiser
- Back Door
- LUB
- Driver's Position
- RHD
- Fuel Induction
- CBR
Difficulties in parts search?
Difficulties in parts search?
| Description | OEM Part # | Price | |||
|---|---|---|---|---|---|
|
44730C
|
44730C
90467-16141
Clip(For Clutch Reservoir Tube)
[08.1980 - 11.1984] BJ60,FJ60,HJ60 |
90467-16141 |
— | ||
|
44730F
|
44730F
90404-51037
Union, Vacuum Hose(For Manifold Side)
[08.1980 - 11.1984] FJ60 |
90404-51037 |
— | ||
|
44730F
|
44730F
90404-51038
Union, Vacuum Hose(For Manifold Side)
[08.1980 - 11.1984] FJ60..ARL,GEN W/AIR CONDITIONING |
90404-51038 |
— | ||
|
44758
|
44758
44758-20060
Bracket, Vacuum Check Valve
[08.1980 - 11.1984] FJ60..RHD |
44758-20060 |
— | ||
|
44777
|
44777
44777-60010
Connector, Vacuum Hose, No.1
[10.1982 - 11.1984] FJ60..RHD |
44777-60010 |
— | ||
|
44778
|
44778
90445-17002 Hose, No.1(For Clutch Booster Vacuum)[10.1982 - 11.1982] FJ60..RHD |
90445-17002 |
US $12.67 |
||
| replacement | |||||
|
44778
|
44778
95446-09300 Hose, Solenoid To Vacuum Tube[10.1982 - 11.1982] FJ60..RHD |
95446-09300 |
US $11.65 |
||
|
44778
|
44778
90445-17024 Hose, Vacuum, No.1CONNECTOR TO CHECK VALVE [08.1980 - 10.1982] FJ60..RHD |
90445-17024 |
US $17.62 |
||
|
44778
|
44778
95441-09200
Hose, No.1(For Clutch Booster Vacuum)
[11.1982 - 08.1987] FJ6#..RHD |
95441-09200 |
— | ||
| replacement | |||||
|
44778
|
44778
95446-09300 Hose, Solenoid To Vacuum Tube[11.1982 - 08.1987] FJ6#..RHD |
95446-09300 |
US $11.65 |
||
|
44779
|
44779
90445-17908
Hose, Vacuum Pump
[10.1982 - 11.1984] FJ60..RHD |
90445-17908 |
— | ||
| replacement | |||||
|
44779
|
44779
31438-60050
Hose, No.2(For Clutch Booster Vacuum)
[10.1982 - 11.1984] FJ60..RHD |
31438-60050 |
— | ||
|
9046108575
|
9046108575
90461-08575 New Genuine Part |
90461-08575 |
US $12.52 |
||
| replacement | |||||
|
9046108575
|
9046108575
90461-08058 New Genuine Part |
90461-08058 |
US $7.28 |
||
|
9046108581
|
9046108581
90461-08581 New Genuine Part |
90461-08581 |
US $12.52 |
||
|
9046110221
|
9046110221
90461-10221
Clamp, Conneector Tube
|
90461-10221 |
— | ||
|
9161140812
|
9161140812
91611-40812
Bolt(for Drive Plate & Torque Converter Setting)
|
91611-40812 |
— | ||
| replacement | |||||
|
9161140812
|
9161140812
91611-B0812 Bolt |
91611-B0812 |
from US $0.76 |
||
|
9165140616
|
9165140616
91651-40616 BOLT |
91651-40616 |
from US $0.72 |
||
| replacement | |||||
|
9165140616
|
9165140616
91621-60614 Bolt(For Transaxle & Engine Setting) |
91621-60614 |
from US $1.43 |
||