Back Door Panel & Glass ([01.1998 - ] (9801- )) Diagram Toyota LAND CRUISER
- Year
- 1998 - 2002
- Sales region
- Japan
- Frame
- HDJ101
- grade
- VX
- ENGINE
- 1HDFTE
- TRANSMISSION
- MTM
- Model
- LAND CRUISER 100
- From
- 01.1998
- To
- 08.2002
- Gear Shift Type
- 5F
- Vehicle Model
- Land Cruiser
Difficulties in parts search?
Parts list
Difficulties in parts search?
| Description | OEM Part # | Price | |||
|---|---|---|---|---|---|
|
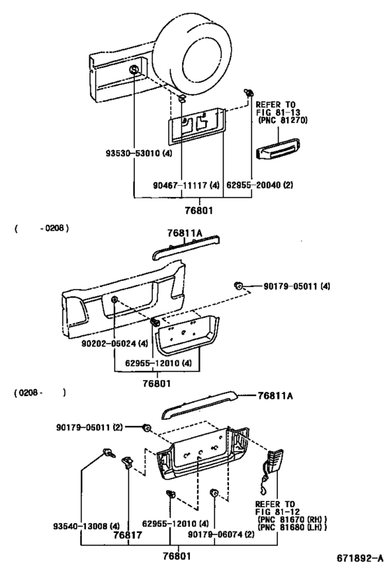
76801
|
76801
76801-60050
Garnish Sub-Assy, Back Door, Outside
[01.1998 - 08.2002] HDJ101,UZJ100 アリ(スペアホイ-ルキヤリア = バックドアフレ-ムヅケ),塗装なし |
76801-60050 |
— | ||
|
6295512010
|
6295512010
62955-12010 Retainer, Radiator Grille, No.1 |
62955-12010 |
from US $1.41 |
||
|
6295520040
|
6295520040
62955-20040 Retainer, Quarter Vent Louver |
62955-20040 |
US $3.58 |
||
|
9017905011
|
9017905011
90179-05011 NUT |
90179-05011 |
from US $0.76 |
||
| replacement | |||||
|
9017905011
|
9017905011
90178-A0005 New Genuine Part |
90178-A0005 |
US $3.02 |
||
|
9017906074
|
9017906074
90179-06074 Nut(For Suspension Control Oil Cooler) |
90179-06074 |
US $1.61 |
||
|
9020205024
|
9020205024
90202-05024 WASHER |
90202-05024 |
US $2.15 |
||
|
9046711117
|
9046711117
90467-11117 CLIP |
90467-11117 |
US $1.61 |
||
|
9353053010
|
9353053010
93530-53010 New Genuine Part |
93530-53010 |
US $0.79 |
||
|
9354013008
|
9354013008
93540-13008 New Genuine Part |
93540-13008 |
US $2.33 |
||