Cylinder Head ([01.1998 - ] (9801- )) Diagram Toyota LEXUS LX

Year
2002 - 2007
Sales region
U.S.A.
Frame
UZJ100
ENGINE
2UZFE
TRANSMISSION
ATM
Model
LX470
From
08.2002
To
08.2007
Gear Shift Type
5FC
Vehicle Model
LX470

Difficulties in parts search?

Parts list
Cylinder Head

Difficulties in parts search?

Cylinder Head
Description OEM Part # Price
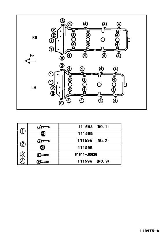
11159A
11159A

90105-07004

Bolt(For Head To Camshaft Bearing Cap)

[08.2002 - 05.2005] 2UZFE..UZJ100 NO.2

90105-07004

US $1.31

11159A
11159A

90105-07005

Bolt(For Head To Camshaft Bearing Cap)

[08.2002 - 05.2005] 2UZFE..UZJ100 NO.1

90105-07005

US $2.80

11159A
11159A

90119-07009

Bolt(For Camshaft Housing Set)

[08.2002 - 05.2005] 2UZFE..UZJ100 NO.3

90119-07009

from US $0.82

11159B
11159B

90210-07003

Washer, Seal(For Head To Camshaft Bearing Cap)

[08.2002 - 05.2005] 2UZFE..UZJ100

90210-07003

from US $2.66

91511J0625
91511J0625

91511-J0625

Bolt(For Cylinder Head Cover)

91511-J0625

from US $0.76

Cylinder Head ([01.1998 - ] (9801- )) Diagram Toyota LEXUS LX U.S.A. 17824773-917385