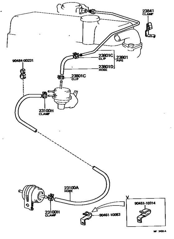
Fuel Pipe & Clamp ([03.1979 - 09.1979] (7903-7909)) Diagram Toyota LITEACE
- Year
- 1978 - 1979
- Sales region
- Europe
- Frame
- KM11
- body
- V
- ENGINE
- 4KJ
- Model
- LITEACE
- From
- 02.1978
- To
- 09.1979
- Vehicle Model
- LITEACE
- Driver's Position
- HRF
Difficulties in parts search?
Difficulties in parts search?
| Description | OEM Part # | Price | |||
|---|---|---|---|---|---|
|
23100A
|
23100A
90445-12084 Hose, FuelFUEL [03.1979 - 09.1979] 4KJ..KM11..V L=950 |
90445-12084 |
US $28.10 |
||
| replacement | |||||
|
23100A
|
23100A
95333-06100 Hose (L=1000)[03.1979 - 09.1979] 4KJ..KM11..V L=950 |
95333-06100 |
US $30.41 |
||
|
23100A
|
23100A
95332-06095 Hose, FuelFUEL [02.1978 - 03.1979] 4KJ..KM11..V L=950 |
95332-06095 |
US $18.78 |
||
| replacement | |||||
|
23100A
|
23100A
95333-06100 Hose (L=1000)[02.1978 - 03.1979] 4KJ..KM11..V L=950 |
95333-06100 |
US $30.41 |
||
|
23100H
|
23100H
96132-30600
Clip(For Actuator Hose)
[02.1974 - 09.1979] 3K#,4KJ..KM1# |
96132-30600 |
— | ||
| replacement | |||||
|
23100H
|
23100H
96132-51100 Clip (For Hose)[02.1974 - 09.1979] 3K#,4KJ..KM1# |
96132-51100 |
from US $1.42 |
||
|
23801
|
23801
23801-13010
Pipe Or Hose Sub-Assy, Carburetor Fuel, No.1
[02.1978 - 03.1979] 4KJ..KM11 |
23801-13010 |
— | ||
|
23801
|
23801
23801-13030 Pipe Or Hose Sub-Assy, Carburetor Fuel, No.1CARBURETOR FUEL, NO.1 [03.1979 - 09.1979] 4KJ..KM11 |
23801-13030 |
US $15.43 |
||
| replacement | |||||
|
23801
|
23801
23801-13050 Pipe Or Hose Sub-Assy, Carburetor Fuel, No.1[03.1979 - 09.1979] 4KJ..KM11 |
23801-13050 |
US $45.72 |
||
|
23801C
|
23801C
96132-30600
Clip(For Actuator Hose)
[03.1979 - 09.1979] 4KJ..KM11 |
96132-30600 |
— | ||
| replacement | |||||
|
23801C
|
23801C
96132-51100 Clip (For Hose)[03.1979 - 09.1979] 4KJ..KM11 |
96132-51100 |
from US $1.42 |
||
|
23801D
|
23801D
95331-06010 Hose, Fuel, No.2 (For Main Tube, No.1)FUEL, NO.1 (FOR MAIN TUBE, NO.2) [03.1979 - 09.1979] 4KJ..KM11 *H,L=70 |
95331-06010 |
US $2.77 |
||
| replacement | |||||
|
23801D
|
23801D
95333-06010 Hose, Fuel[03.1979 - 09.1979] 4KJ..KM11 *H,L=70 |
95333-06010 |
US $5.38 |
||
|
23841
|
23841
90461-08532
Clamp, Fuel Pipe(Hose), No.1
[05.1971 - 09.1979] 3K#,4KJ..KM1# |
90461-08532 |
— | ||
|
9046110083
|
9046110083
90461-10083 New Genuine Part |
90461-10083 |
US $3.20 |
||
|
9046110314
|
9046110314
90461-10314
New Genuine Part
|
90461-10314 |
— | ||
|
9046400231
|
9046400231
90464-00231 Clamp, Fuel Pipe(Hose), No.1 |
90464-00231 |
US $3.32 |
||