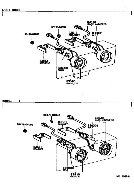
Meter ([08.1978 - ] (7808- )) Diagram Toyota PICKUP
- Year
- 1980 - 1983
- Sales region
- U.S.A.
- Frame
- RN44
- grade
- DLX
- ENGINE
- 22R
- TRANSMISSION
- MTM
- DESTINATION
- CND
- From
- 08.1980
- To
- 07.1983
- Gear Shift Type
- 4F
- Loading Capacity
- HLF
- Building Condition
- CBU
Difficulties in parts search?
Parts list
Difficulties in parts search?
| Description | OEM Part # | Price | |||
|---|---|---|---|---|---|
|
9017904092
|
9017904092
90179-04092
NUT
|
90179-04092 |
— | ||
| replacement | |||||
|
9017904092
|
9017904092
90179-04001 NUT |
90179-04001 |
from US $1.16 |
||