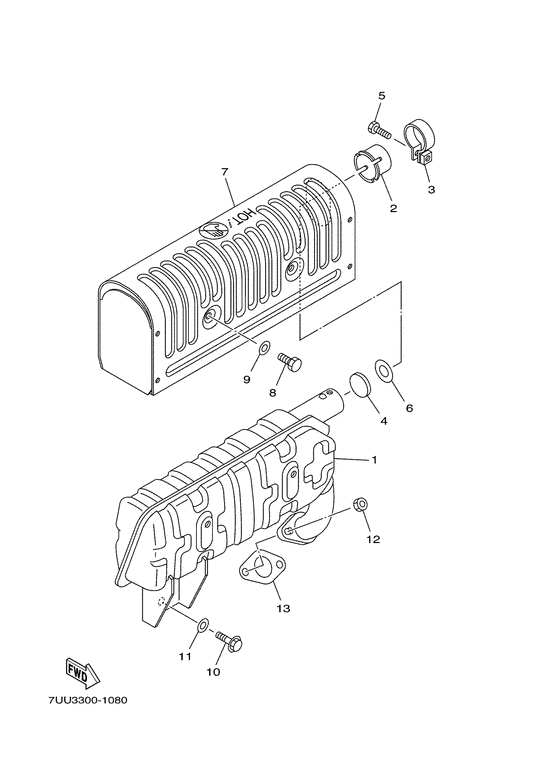
Exhaust Diagram Yamaha EF2600A
- Year
- 2001
- Sales region
- Chile (030)
- Colour
- Faraway Blue (FWB; 00NJ)
Difficulties in parts search?
Difficulties in parts search?
| Description | OEM Part # | Price | |||
|---|---|---|---|---|---|
|
01
|
01
7NN-14711-04-00 Muffler 1 |
7NN-14711-04-00 |
US $91.60 |
||
|
02
|
02
7NJ-14799-01-00 Cap |
7NJ-14799-01-00 |
from US $9.92 |
||
| replacement | |||||
|
02
|
02
7CA-E4799-00-00 Cap |
7CA-E4799-00-00 |
from US $9.92 |
||
|
03
|
03
7NJ-14788-00-00
Hose Clamp Assy
|
7NJ-14788-00-00 |
— | ||
| replacement | |||||
|
03
|
03
904-50298-01-00 Hose Clamp Assy |
904-50298-01-00 |
from US $8.78 |
||
|
04
|
04
7NJ-1479E-00-00 Net, Wire 2 |
7NJ-1479E-00-00 |
from US $5.38 |
||
| replacement | |||||
|
04
|
04
7CA-E479E-00-00 Net, Wire 2 |
7CA-E479E-00-00 |
from US $5.38 |
||
|
05
|
05
90153-05024-00 Screw, Hexagon |
90153-05024-00 |
from US $1.70 |
||
|
06
|
06
90201-171J5-00 Washer, Plain |
90201-171J5-00 |
from US $1.84 |
||
| replacement | |||||
|
06
|
06
90201-17682-00 Washer, Plate |
90201-17682-00 |
from US $1.84 |
||
|
07
|
07
7NN-14708-01-00 Protector Assy |
7NN-14708-01-00 |
from US $22.39 |
||
| replacement | |||||
|
07
|
07
7CN-E4708-01-00 Protector Assy |
7CN-E4708-01-00 |
from US $22.39 |
||
|
08
|
08
97027-06010-00 Bolt, Hexagon |
97027-06010-00 |
from US $1.56 |
||
| replacement | |||||
|
08
|
08
97017-06010-00 Bolt |
97017-06010-00 |
from US $1.34 |
||
|
09
|
09
92907-06600-00 Washer, Plate |
92907-06600-00 |
from US $1.04 |
||
|
10
|
10
95827-06016-00 Bolt, Flange |
95827-06016-00 |
from US $1.07 |
||
| replacement | |||||
|
10
|
10
95817-06016-00 Bolt, Flange |
95817-06016-00 |
from US $1.07 |
||
|
11
|
11
90201-06071-00 Washer, Plate |
90201-06071-00 |
from US $2.38 |
||
| replacement | |||||
|
11
|
11
90201-063J2-00 Washer, Plate(36Y) |
90201-063J2-00 |
from US $3.12 |
||
|
12
|
12
953-07066-00-00
Nut
|
953-07066-00-00 |
— | ||
| replacement | |||||
|
12
|
12
95317-06600-00 Nut(6Ta) |
95317-06600-00 |
from US $1.21 |
||
|
13
|
13
JA9-14613-00-00 Gasket, Exhaust Pipe |
JA9-14613-00-00 |
from US $1.42 |
||
| replacement | |||||
|
13
|
13
7CN-E4613-00-00 Gasket, Exhaust Pipe |
7CN-E4613-00-00 |
from US $1.56 |
||