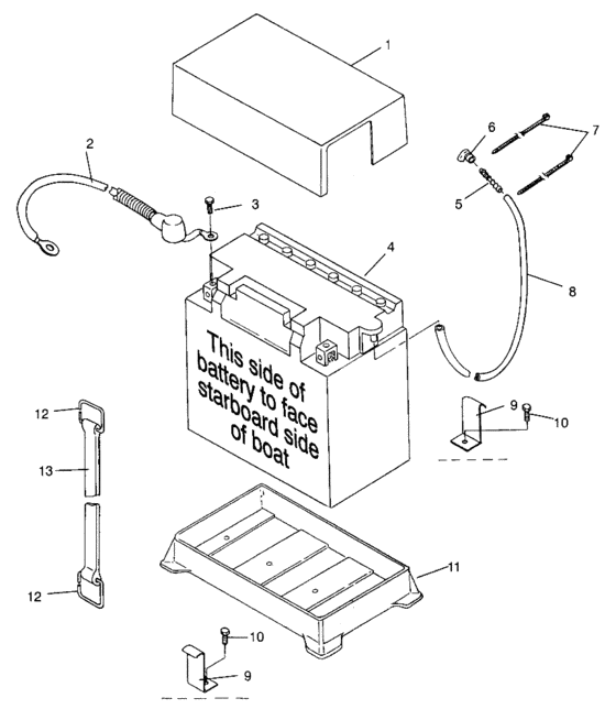
Battery box (SL 700 B964066 and Intl. SL 700 I964066) Diagram Polaris INTL SL 700
- Year
- 1996
- Sales region
- General
Difficulties in parts search?
Parts list
Difficulties in parts search?
| Description | OEM Part # | Price | |||
|---|---|---|---|---|---|
|
1
|
1
5710037
Cover, battery
|
5710037 |
— | ||
|
2
|
2
4010080
Cable,blk,batt/eng.
|
4010080 |
— | ||
|
3
|
3
2200619 Bolt,batt,kit(10)10; |
2200619 |
US $3.75 |
||
|
4
|
4
4140009
Battery,19amp(marine)
MARINE; |
4140009 |
— | ||
|
5
|
5
7052078
Connector
|
7052078 |
— | ||
|
6
|
6
5410682
Grommet, vent
|
5410682 |
— | ||
|
7
|
7
7080483
Cable tie,4 inch
10; |
7080483 |
— | ||
|
8
|
8
5432121
Tube,vent
|
5432121 |
— | ||
|
9
|
9
5222739
Brkt,strap,short
|
5222739 |
— | ||
|
10
|
10
7512043
Bolt(10)
10; |
7512043 |
— | ||
|
11
|
11
5431559
Tray, battery
|
5431559 |
— | ||
|
12
|
12
5224472
Hook,'d',sst/ss,(10)
10; |
5224472 |
— | ||
|
13
|
13
5410853
Strap,rubber
|
5410853 |
— |