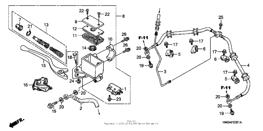
Front brake master cylinder (trx300ex'07-) Diagram Honda TRX 300 Sportrax 300 EX
- Model code
- TRX300EX A
- Engine Capacity
- 282
- Year
- 2008
- Sales region
- USA
- Frame
- JH2TE190*8K300001 - JH2TE190*8K399999
- Power
- 21 hp
- Stroke (2-stroke or 4-stroke)
- 4 stroke
- 2WD/4WD/AWD
- 2WD
- Model
- Sportrax 300 EX
Difficulties in parts search?
Difficulties in parts search?
| Description | OEM Part # | Price | |||
|---|---|---|---|---|---|
|
1
|
1
35340-ML4-005 Switch assy., fr. stop (tateishi) |
35340-ML4-005 |
from US $13.91 |
||
| replacement | |||||
|
1
|
1
35340-HR0-305 Switch, fr. stop |
35340-HR0-305 |
US $22.98 |
||
|
2
|
2
45126-HM3-A61 Hose a, fr. brake |
45126-HM3-A61 |
from US $36.98 |
||
|
3
|
3
45127-HM3-A60 Pipe, fr. brake |
45127-HM3-A60 |
from US $11.15 |
||
|
4
|
4
45128-HM3-A61 Hose b, fr. brake |
45128-HM3-A61 |
from US $122.66 |
||
|
5
|
5
45461-HM3-A60 Clamp b, fr. |
45461-HM3-A60 |
from US $6.17 |
||
|
6
|
6
45461-HP1-600 Clamp a, fr. |
45461-HP1-600 |
from US $4 |
||
|
7
|
7
45504-410-003 Boot |
45504-410-003 |
from US $4.90 |
||
|
8
|
8
45510-HM3-901 M/cyl sub-assy, fr. |
45510-HM3-901 |
from US $159.12 |
||
|
9
|
9
45513-GW3-851 Cap, master cylinder |
45513-GW3-851 |
from US $13.87 |
||
|
10
|
10
45517-GW0-751 Holder |
45517-GW0-751 |
from US $10.66 |
||
|
11
|
11
45520-MG7-006 Diaphragm |
45520-MG7-006 |
from US $7.70 |
||
|
12
|
12
45521-HA2-006 Plate, diaphragm |
45521-HA2-006 |
from US $7.55 |
||
|
13
|
13
45530-471-831 Master cylinder set |
45530-471-831 |
from US $17.53 |
||
|
14
|
14
46666-HB9-006 Separator |
46666-HB9-006 |
from US $6.02 |
||
|
15
|
15
53175-HM3-000 Lever, r. handlebar |
53175-HM3-000 |
from US $23.66 |
||
|
16
|
16
53176-HC0-671 Cover, r. handlebar |
53176-HC0-671 |
from US $9.67 |
||
|
17
|
17
90107-HC5-000 Bolt, flange (6x10) |
90107-HC5-000 |
from US $1.78 |
||
|
18
|
18
90114-166-006 Bolt |
90114-166-006 |
from US $2.66 |
||
|
19
|
19
90145-MS9-612 Bolt, oil (10x22) |
90145-MS9-612 |
from US $6.96 |
||
|
20
|
20
90545-300-000 Washer |
90545-300-000 |
from US $3.18 |
||
|
21
|
21
90651-MA5-671 Circlip |
90651-MA5-671 |
from US $2.59 |
||
|
22
|
22
93600-040121A Screw, flat, 4x12 |
93600-040121A |
from US $0.37 |
||
|
23
|
23
93893-040-140-7 Screw-washer4X14 |
93893-040-140-7 |
from US $0.52 |
||
|
24
|
24
94050-06000 NutFLANGE, 6MM |
94050-06000 |
from US $0.52 |
||
|
25
|
25
95701-060-250-7 BoltFLANGE, 6X25 |
95701-060-250-7 |
from US $0.59 |
||
|
26
|
26
96001-0602200 Bolt, flange, 6x22 |
96001-0602200 |
from US $0.74 |
||