Air cleaner-belt converter Diagram Kawasaki KAF400 Mule 610 4X4 XC SE

Model code
KAF400FEF
Engine Capacity
400
Year
2014
Sales region
Canada
Colour
Colored Plastic Super Black (839)
Power
13,5 hp
Stroke (2-stroke or 4-stroke)
4 stroke
2WD/4WD/AWD
4WD
Model
Mule 610 4X4 XC

Difficulties in parts search?

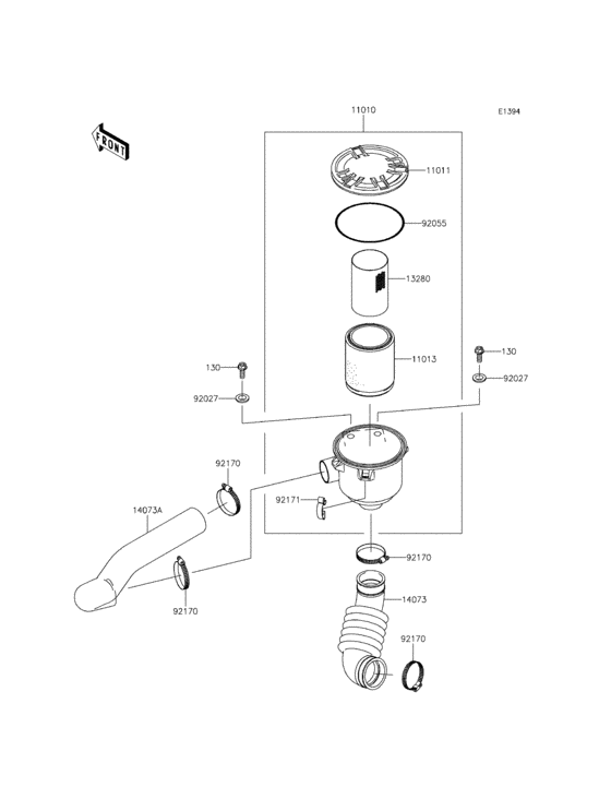
Parts list
Air cleaner-belt converter

Difficulties in parts search?

Air cleaner-belt converter
Description OEM Part # Price
130
130

130BB0822

BOLT-FLANGED

130BB0822

from US $1.24

11010
11010

11010-0172

FILTER-ASSY-AIR

11010-0172

US $185.11

11011
11011

11011-0135

CASE-AIR FILTER,CAP

11011-0135

US $98.82

11013
11013

11013-0037

Element-air filter

11013-0037

from US $10.22

13280
13280

13280-0312

HOLDER

13280-0312

US $19.07

14073
14073

14073-0061

DUCT,AIR FILTER-CASE

14073-0061

US $28.08

14073A
14073A

14073-0080

DUCT,BAR-AIR FILTER

14073-0080

US $42.38

92027
92027

92027-1354

COLLAR

92027-1354

from US $2.79

92055
92055

92055-0167

RING-O,122X4

92055-0167

US $17.58

92170
92170

92170-1674

CLAMP

92170-1674

from US $9.03

replacement
92170
92170

92037-1523

CLAMP

92037-1523

from US $8.08

92171
92171

92171-0225

CLAMP

92171-0225

US $2.53

Air cleaner-belt converter Diagram Kawasaki KAF400 Mule 610 4X4 XC SE Colored Plastic Super Black (839) Canada 14070084-799578