Air cleaner(p9f/paf) Diagram Kawasaki KAF620 Mule 4000
- Model code
- KAF620PAF
- Engine Capacity
- 620
- Year
- 2010
- Colour
- Woodman Green (398)
- Stroke (2-stroke or 4-stroke)
- 4 stroke
- 2WD/4WD/AWD
- 2WD
- Model
- Mule 4000
Difficulties in parts search?
Difficulties in parts search?
| Description | OEM Part # | Price | |||
|---|---|---|---|---|---|
|
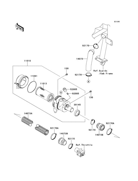
130
|
130
130BB0814 BOLT-FLANGED |
130BB0814 |
from US $1.27 |
||
|
11010
|
11010
11010-0177 FILTER-ASSY-AIR |
11010-0177 |
US $168.32 |
||
|
11013
|
11013
11013-1290 Element-air filter |
11013-1290 |
US $31.93 |
||
|
11061
|
11061
11061-1078 GASKET |
11061-1078 |
from US $11.66 |
||
|
14073
|
14073
14073-0236 DUCT,BAR,RR-A/C |
14073-0236 |
US $18.82 |
||
|
14073A
|
14073A
14073-7504
DUCT
|
14073-7504 |
— | ||
|
14073B
|
14073B
14073-7505 DUCT |
14073-7505 |
from US $3.31 |
||
|
39145
|
39145
39145-1133 TRIM-SEAL |
39145-1133 |
from US $4.90 |
||
|
52005
|
52005
52005-7502 GAUGE,AIR |
52005-7502 |
US $51.05 |
||
|
92005
|
92005
92005-1386 FITTING |
92005-1386 |
US $2.28 |
||
|
92170
|
92170
92170-1674 CLAMP |
92170-1674 |
from US $9.03 |
||
| replacement | |||||
|
92170
|
92170
92037-1523 CLAMP |
92037-1523 |
from US $8.08 |
||
|
92170A
|
92170A
92170-1764 CLAMP |
92170-1764 |
from US $12.05 |
||