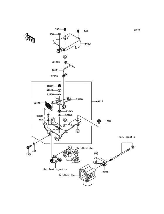
Control Diagram Kawasaki KAF620 Mule 4010 Trans 4X4
- Model code
- KAF620RFF
- Engine Capacity
- 620
- Year
- 2015
- Sales region
- Canada
- Stroke (2-stroke or 4-stroke)
- 4 stroke
- 2WD/4WD/AWD
- 4WD
- Model
- Mule 4010 Trans 4X4
Difficulties in parts search?
Parts list
Difficulties in parts search?
| Description | OEM Part # | Price | |||
|---|---|---|---|---|---|
|
130A
|
130A
130BA0620 BOLT-FLANGED,6X20 |
130BA0620 |
from US $1.11 |
||
|
130B
|
130B
130BA0814 BOLT-FLANGED,8X14 |
130BA0814 |
from US $0.95 |
||
|
312
|
312
312AA0500 NUT-HEX |
312AA0500 |
from US $0.78 |
||
|
411
|
411
411AB0600 WASHER-PLAIN,(6.5x13x1) |
411AB0600 |
from US $0.63 |
||
|
11055
|
11055
130BA0508 BOLT-FLANGED |
130BA0508 |
from US $0.95 |
||
|
92015
|
92015
92015-1339 NUT,LOCK,FLANGED,6MM |
92015-1339 |
from US $1.84 |
||
|
92022
|
92022
92022-2247 WASHER |
92022-2247 |
from US $0.63 |