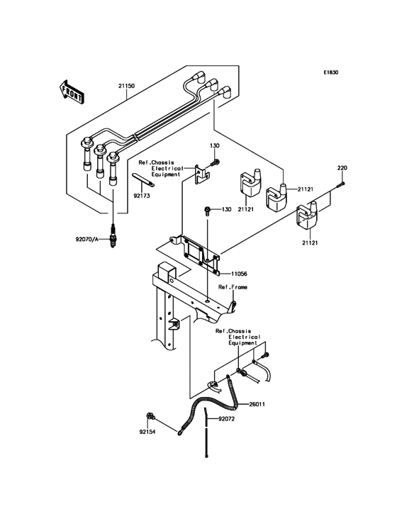
Ignition System Diagram Kawasaki KAF820 Mule PRO-FXT EPS Camo

Model code
KAF820DHF
Engine Capacity
820
Year
2017
Sales region
USA
Model
Mule PRO-FXT EPS

Difficulties in parts search?

Parts list
Ignition System

Difficulties in parts search?

Ignition System
Description OEM Part # Price
220
220

220AA0525

SCREW-PAN-CROS,5X25

220AA0525

from US $1.25

11056
11056

130BA0820

BOLT-FLANGED,8X20

130BA0820

from US $1.43

92072
92072

92072-3509

BAND

92072-3509

from US $1.74

92154
92154

92154-1383

BOLT,FLANGED,10X14

92154-1383

from US $0.94

Ignition System Diagram Kawasaki KAF820 Mule PRO-FXT EPS Camo USA 16100360-847598