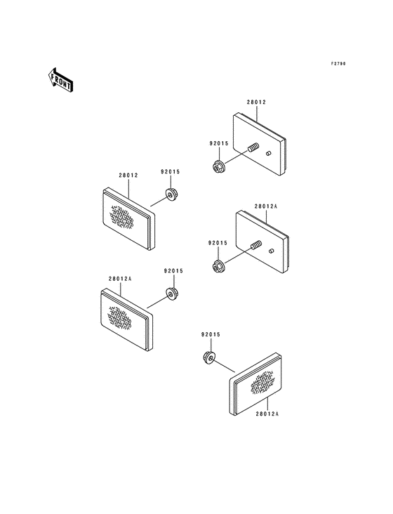
Reflectors Diagram Kawasaki KLF400 Bayou 400
- Model code
- KLF400-B3
- Engine Capacity
- 391
- Year
- 1995
- Sales region
- USA
- Stroke (2-stroke or 4-stroke)
- 4 stroke
- 2WD/4WD/AWD
- 4WD
Difficulties in parts search?
Parts list
Difficulties in parts search?
| Description | OEM Part # | Price | |||
|---|---|---|---|---|---|
|
28012
|
28012
28012-1003 REFLECTOR,REFLEX(FRON |
28012-1003 |
from US $15.68 |
||
|
28012A
|
28012A
28012-1054
Reflector-reflex,rr
Reflector-reflex,rr; |
28012-1054 |
— | ||
| replacement | |||||
|
28012A
|
28012A
28012-1088 Reflector-reflexReflector-reflex,rr; |
28012-1088 |
from US $17.58 |
||
|
92015
|
92015
92015-1259 NUT,FLANGED,5MMNut,flanged,5mm; |
92015-1259 |
from US $2.53 |
||