Generator Diagram Kawasaki KVF400 Prairie 400 4X4
- Model code
- KVF400-A1
- Engine Capacity
- 391
- Year
- 1997
- Sales region
- Canada
- Colour
- Colored Plastic Forest Bluish Green (59)
- Power
- 25 hp
- Stroke (2-stroke or 4-stroke)
- 4 stroke
- 2WD/4WD/AWD
- 4WD
- Model
- Prairie 400 4X4
Difficulties in parts search?
Parts list
Difficulties in parts search?
| Description | OEM Part # | Price | |||
|---|---|---|---|---|---|
|
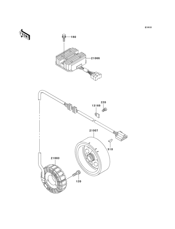
120
|
120
120P0630 BOLT-SOCKET,6X30 |
120P0630 |
US $1.27 |
||
| replacement | |||||
|
120
|
120
120CA0630 BOLT-SOCKET,6X30 |
120CA0630 |
from US $1.27 |
||
|
180
|
180
180D0630 BOLT-UPSET-WS |
180D0630 |
US $2.79 |
||
| replacement | |||||
|
180
|
180
180AA0630 BOLT-UPSET-WS |
180AA0630 |
from US $0.58 |
||
|
220
|
220
220B0610 SCREW-PAN HEAD,6X10 |
220B0610 |
US $1.27 |
||
| replacement | |||||
|
220
|
220
220AA0610 SCREW-PAN HEAD,6X10 |
220AA0610 |
from US $0.95 |
||
|
510
|
510
510A4200 KEY,WOODRUFF |
510A4200 |
from US $3.48 |
||
|
13169
|
13169
13169-1788 PLATE,HARNESS |
13169-1788 |
from US $3.43 |
||
|
21003
|
21003
21003-1300 STATOR |
21003-1300 |
US $459.07 |
||
|
21007
|
21007
21007-1306 ROTOR,GENERATOR |
21007-1306 |
US $595.62 |
||
|
21066
|
21066
21066-1078 REGULATOR-VOLTAGE |
21066-1078 |
from US $186.62 |
||