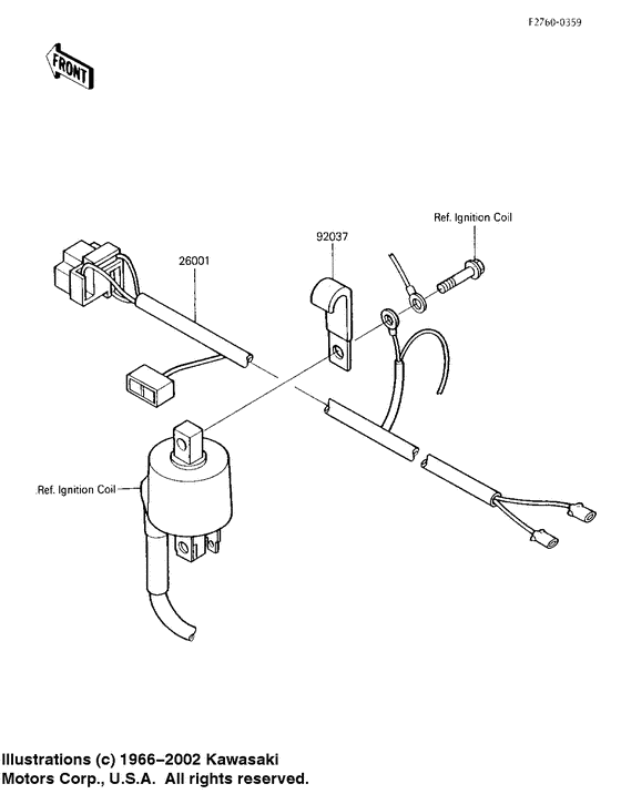
Chassis electrical equipment Diagram Kawasaki KXT250 Tecate 3

Model code
KXT250-B1
Engine Capacity
250
Year
1986
Sales region
USA
Stroke (2-stroke or 4-stroke)
2 stroke

Difficulties in parts search?

Parts list
Chassis electrical equipment

Difficulties in parts search?

Chassis electrical equipment
Description OEM Part # Price
26001
26001
26001-1743
HARNESS,MAIN

Harness,main;

26001-1743

92037
92037
92037-1069
CLAMP

Clamp,wiring harness;

92037-1069

replacement
92037
92037

92171-0652

CLAMP

Clamp,wiring harness;

92171-0652

from US $1.27

Chassis electrical equipment Diagram Kawasaki KXT250 Tecate 3 USA 10412047-683873