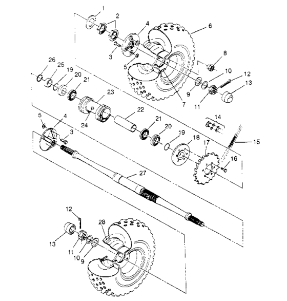
Rear wheel drive assembly (6x6 400L W948740) Diagram Polaris 400L 6X6
- Model code
- W948740
- Year
- 1994
- Sales region
- General
Difficulties in parts search?
Difficulties in parts search?
| Description | OEM Part # | Price | |||
|---|---|---|---|---|---|
|
1
|
1
7555764
Washer
10; |
7555764 |
— | ||
|
2
|
2
5020468 Nut, jam |
5020468 |
US $140.90 |
||
|
3
|
3
7512673 Bolt(10)10; |
7512673 |
US $4.73 |
||
|
4
|
4
2200341 Kit, mach,hubIncl. 10; |
2200341 |
US $84.70 |
||
|
5
|
5
7670081 Pushnut, bolt(10)10; |
7670081 |
US $26.40 |
||
|
6
|
6
5410908
Tire,r
25X11-10;25x12x10; |
5410908 |
— | ||
| replacement | |||||
|
6
|
6
5410948GOODYEAR
New Genuine Part
25X11-10;25x12x10; |
5410948GOODYEAR |
— | ||
|
6
|
6
5410566
Tire,r
25X12-10;25x12x10; |
5410566 |
— | ||
| replacements | |||||
|
6
|
6
5411408
Tire
25X12-10;25x12x10; |
5411408 |
— | ||
|
6
|
6
5411408DUNLOP
New Genuine Part
25X12-10;25x12x10; |
5411408DUNLOP |
— | ||
|
7
|
7
1525017 Valve, rim |
1525017 |
US $6.56 |
||
|
8
|
8
7542714 Nut(10)10; |
7542714 |
US $52.50 |
||
|
9
|
9
7555745 Washer10; |
7555745 |
US $4.73 |
||
|
10
|
10
7555796 Washer, cone10; |
7555796 |
US $9.10 |
||
|
11
|
11
7543005 Nut, castle10; |
7543005 |
US $9.84 |
||
|
12
|
12
7661404 Pin, cotter10; |
7661404 |
US $5.25 |
||
|
13
|
13
5410404
Cover,dust,hub
|
5410404 |
— | ||
| replacement | |||||
|
13
|
13
5411164
Cover, dust, hub
|
5411164 |
— | ||
|
14
|
14
3225024 Connector link |
3225024 |
US $9.15 |
||
|
15
|
15
3224055 Drivechain asm, 116p |
3224055 |
US $263.69 |
||
|
16
|
16
7515488 Bolt10; |
7515488 |
US $1.89 |
||
|
17
|
17
3222047 Sprocket, 30t * |
3222047 |
US $179.60 |
||
|
18
|
18
1380026-067
Hub,spkt,ext.blk.
|
1380026-067 |
— | ||
| replacement | |||||
|
18
|
18
1380026
Hub, sprocket
|
1380026 |
— | ||
|
19
|
19
5410415 O ring, 1 5/16(10) *10; |
5410415 |
US $2.28 |
||
|
20
|
20
3610013 Seal, rear axle |
3610013 |
US $30.10 |
||
|
21
|
21
3515501 Bearing, ball |
3515501 |
US $34.46 |
||
|
22
|
22
5010204
Tube,bearing spacer
|
5010204 |
— | ||
|
23
|
23
5130663
Housing, axle
|
5130663 |
— | ||
|
24
|
24
7080306 Fitting,lube,w/ball ck,(10)10; |
7080306 |
US $91.90 |
||
|
25
|
25
5010206 Spacer,bearing |
5010206 |
US $32.29 |
||
|
26
|
26
7710405 Ring, snap(10)10; |
7710405 |
US $3.75 |
||
|
27
|
27
5020504 Axle, rear * |
5020504 |
US $330.87 |
||
|
28
|
28
1520183-117
Rim-rear, 8,5/10,silver
|
1520183-117 |
— | ||