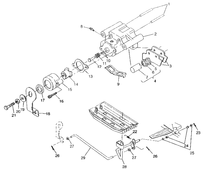
Rear brake assembly (SWEDISH 4x4 400L S948140) Diagram Polaris SWEDISH 400L 4X4
- Model code
- S948140
- Year
- 1994
- Sales region
- General
Difficulties in parts search?
Difficulties in parts search?
| Description | OEM Part # | Price | |||
|---|---|---|---|---|---|
|
1
|
1
7661820 Pin, dowel10; |
7661820 |
US $13.77 |
||
|
2
|
2
5130946
Caliper,brake,mach.
|
5130946 |
— | ||
| replacement | |||||
|
2
|
2
5131272
Caliper,r,brake,mach
|
5131272 |
— | ||
|
3
|
3
2200464 Kit,rear,brakepad,med,duty |
2200464 |
US $39.39 |
||
|
4
|
4
2200463 Kit, piston&sealIncl. 5-7; |
2200463 |
US $97.46 |
||
|
5
|
5
5410766 Ring, square, molded.134;.134 Sq.; |
5410766 |
US $15.26 |
||
| replacement | |||||
|
5
|
5
2200463 Kit, piston&seal.134;.134 Sq.; |
2200463 |
US $97.46 |
||
|
6
|
6
5410767
Ring, square, molded, .099
1``DIAM.;.099 Sq.; |
5410767 |
— | ||
| replacement | |||||
|
6
|
6
2200463 Kit, piston&seal1``DIAM.;.099 Sq.; |
2200463 |
US $97.46 |
||
|
7
|
7
5020667
Piston,brake
|
5020667 |
— | ||
| replacement | |||||
|
7
|
7
2200463 Kit, piston&seal |
2200463 |
US $97.46 |
||
|
8
|
8
7080352 Screw,bleeder (10) |
7080352 |
US $65.60 |
||
|
9
|
9
5222232
Spring,anti-rattle
|
5222232 |
— | ||
|
10
|
10
5410542
O-ring
|
5410542 |
— | ||
| replacement | |||||
|
10
|
10
5411432 O ring (10) |
5411432 |
US $39.70 |
||
|
11
|
11
7041219 Spring,brake,comp, |
7041219 |
US $35.91 |
||
|
12
|
12
5020666
Pin,brake caliper
|
5020666 |
— | ||
|
13
|
13
5830009 Gasket, brake |
5830009 |
US $4.94 |
||
|
14
|
14
5630458
Ramp,moveable brake
|
5630458 |
— | ||
| replacement | |||||
|
14
|
14
2200905
Kit,brakeramps,thrd,hole
|
2200905 |
— | ||
|
15
|
15
5630457
Ramp, stat.brake
|
5630457 |
— | ||
| replacement | |||||
|
15
|
15
2200905
Kit,brakeramps,thrd,hole
|
2200905 |
— | ||
|
16
|
16
7512173
Screw
10; |
7512173 |
— | ||
|
17
|
17
3610026 Seal, brake |
3610026 |
US $7.89 |
||
|
18
|
18
5240624 Arm,brake caliper |
5240624 |
US $49.25 |
||
|
19
|
19
7555828 Washer, spring10; |
7555828 |
US $5.22 |
||
|
20
|
20
7542129 Nut10; |
7542129 |
US $2.45 |
||
|
21
|
21
7515145
Bolt
|
7515145 |
— | ||
|
22
|
22
7042029 Spring(10)10; |
7042029 |
US $2.17 |
||
|
23
|
23
7661401 Pin,cotter(10)10; |
7661401 |
US $3.94 |
||
|
24
|
24
5431107
Bushing, pedal pivot
|
5431107 |
— | ||
|
25
|
25
7558702 Washer thrust10; |
7558702 |
US $2.45 |
||
|
26
|
26
7661203 Pin,cotter(10)10; |
7661203 |
US $26.30 |
||
|
27
|
27
7555806 Washer,flat(10)10; |
7555806 |
US $13.10 |
||
|
28
|
28
1910144-067
Footbrake,blk,
|
1910144-067 |
— | ||
|
29
|
29
5224531 Rod, brake |
5224531 |
US $64.02 |
||